授权公布号:CN214576575U
窗扇焊角增强件、扇框、窗扇以及窗
有效
申请
2020-12-30
申请公布
1970-01-01
授权
2021-11-02
预估到期
2030-12-30
| 申请号 | CN202023285786.6 |
| 申请日 | 2020-12-30 |
| 授权公布号 | CN214576575U |
| 授权公告日 | 2021-11-02 |
| 分类号 | E06B3/968 |
| 分类 | 一般门、窗、百叶窗或卷辊遮帘;梯子; |
| 申请人名称 | 柯梅令(天津)高分子型材有限公司 |
| 申请人地址 | 天津市津南区经济开发区(东区) |
专利法律状态
2021-11-02
授权
状态信息
授权
摘要
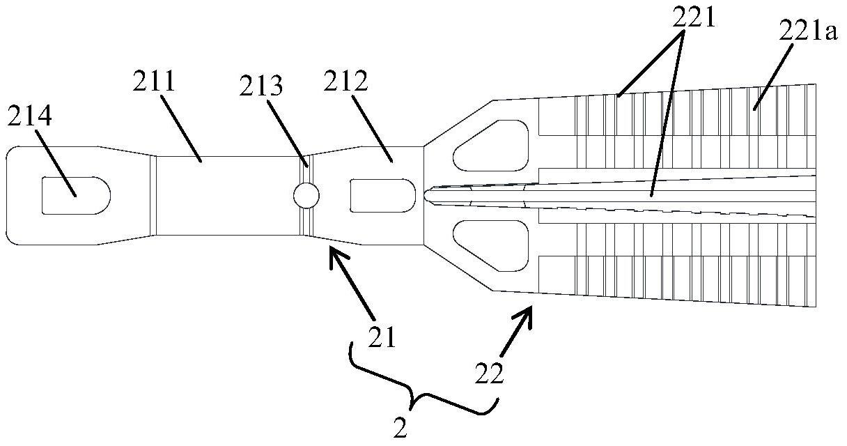
本实用新型公开了一种窗扇焊角增强件,包括柱状体以及锁紧拉耳;所述柱状体的一端设置有45°的倾斜面,另一端开设有阔张槽;所述柱状体的中部设置有贯穿的张拉孔,所述张拉孔连通于所述阔张槽;所述锁紧拉耳包括拉杆以及连接于所述拉杆的阔张头,所述阔张头包括楔形板,所述楔形板的靠近拉杆一端的宽度小于远离拉杆一端的宽度;所述拉杆能够穿过所述张拉孔,所述楔形板能够插入至所述阔张槽内。本实用新型还提供一种扇框、窗扇以及窗,包括如前所述的窗扇焊角增强件。采用上述技术方案,本实用新型的窗扇焊角增强件、扇框、窗扇以及窗,通过在扇框的边框焊角位置设置增强件,能够有效提高焊角位置的结构强度。


