授权公布号:CN217463208U
一种蒸汽分离机新型盘根室
有效
申请
2021-12-28
申请公布
1970-01-01
授权
2022-09-20
预估到期
2031-12-28
| 申请号 | CN202123340912.8 |
| 申请日 | 2021-12-28 |
| 授权公布号 | CN217463208U |
| 授权公告日 | 2022-09-20 |
| 分类号 | F16J15/16 |
| 分类 | 工程元件或部件;为产生和保持机器或设备的有效运行的一般措施;一般绝热; |
| 申请人名称 | 山东晨鸣纸业集团股份有限公司 |
| 申请人地址 | 山东省潍坊市寿光市农圣东街2199号晨鸣研发中心 |
专利法律状态
2022-09-20
授权
状态信息
授权
摘要
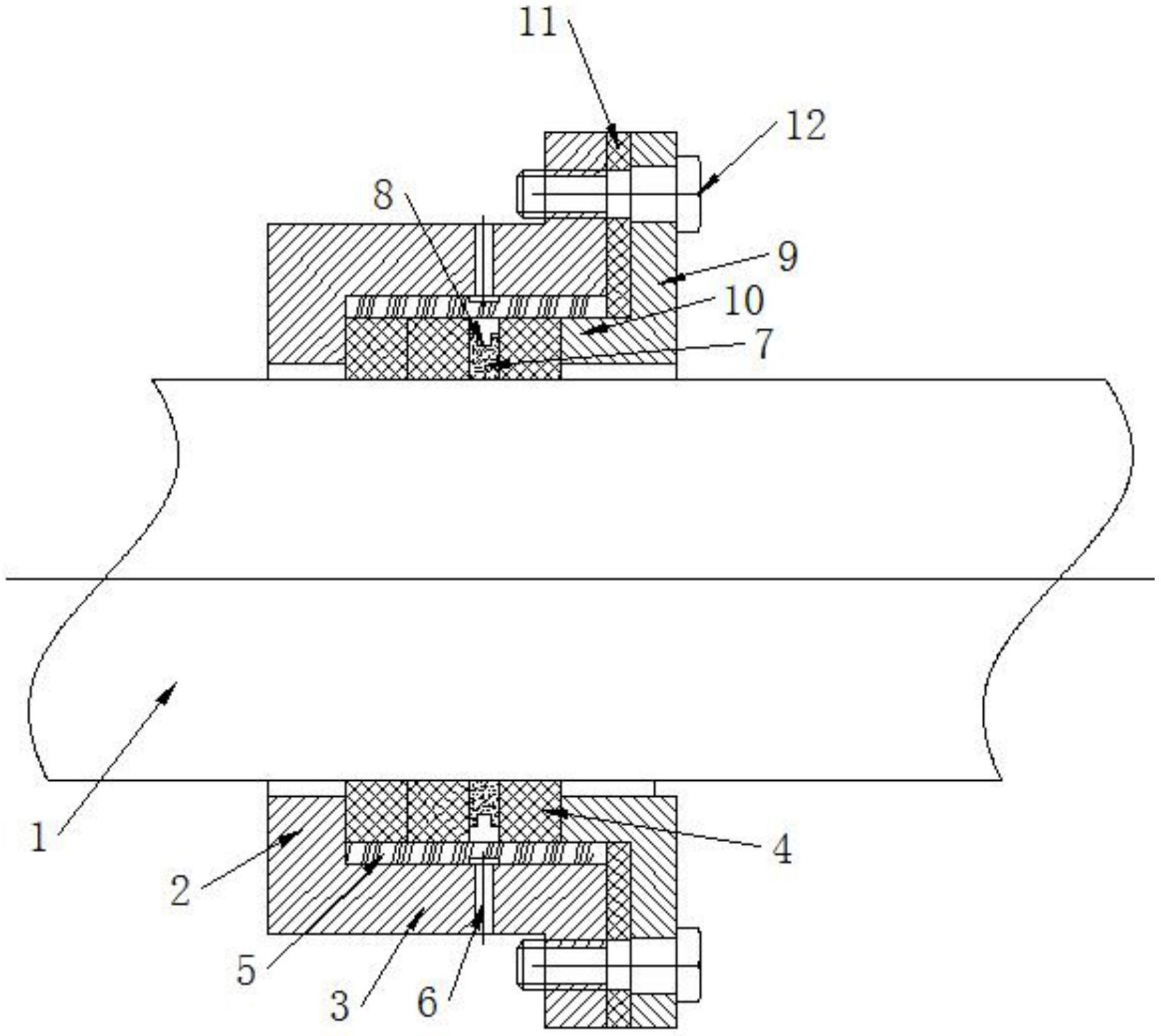
一种蒸汽分离机新型盘根室,涉及传动装置技术领域,包括盘根室,内同轴安装有主轴,盘根室的内圈上开设有环形安装槽,环形安装槽内同轴套装有盘根套,盘根套的内壁上并列设有若干个套装于主轴上的盘根,其中相邻的两个盘根之间还同轴套装有甩水环,通过甩水环将盘根与主轴之间形成水膜,盘根室的一端还沿轴向滑动设有连接于盘根室上的预紧压盖。本实用新型解决了传统技术中的装置设备转速高,长期运转后,零部件磨损严重,主轴振动或径向跳动易造成机械密封损坏,出现泄露时必须更换机械密封,过程麻烦;以及蒸汽温度高,内外存在压差,机械密封损坏后,会造成气体严重泄露,存在安全隐患的问题。


