授权公布号:CN218466201U
一种造纸机轴头连接装置
有效
申请
2022-06-28
申请公布
1970-01-01
授权
2023-02-10
预估到期
2032-06-28
| 申请号 | CN202221646267.4 |
| 申请日 | 2022-06-28 |
| 授权公布号 | CN218466201U |
| 授权公告日 | 2023-02-10 |
| 分类号 | D21G9/00 |
| 分类 | 造纸;纤维素的生产; |
| 申请人名称 | 山东晨鸣纸业集团股份有限公司 |
| 申请人地址 | 山东省潍坊市寿光市农圣东街2199号晨鸣研发中心 |
专利法律状态
2023-02-10
授权
状态信息
授权
摘要
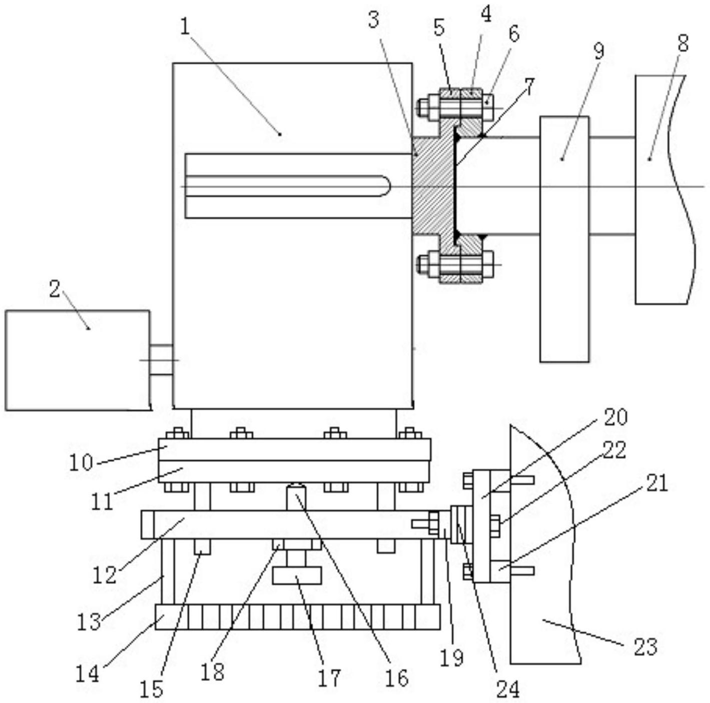
一种造纸机轴头连接装置,涉及连接装置技术领域,包括空心轴减速机,空心轴减速机的动力输入端连接有电机,空心轴减速机的动力输出端上连接有动力输出轴头,动力输出轴头通过法兰连接组件可拆卸式安装有螺旋辊,螺旋辊靠近其动力输入端的位置设有支撑轴承,空心轴减速机下端部还安装有沿竖向及横向调节的支撑底座。本实用新型解决了传统技术中的轴头与螺旋辊磨损速度不同,由于轴头使用寿命不稳定,当轴头出现磨损时,整支螺旋辊无法使用,更换工作量大,成本高的问题。该装置结构简单,故障率低,用于抄纸过程提高了纸机生产线运行效率。


