授权公布号:CN213925411U
一种毛巾制造用循环式滚筒染色机
有效
申请
2020-10-09
申请公布
1970-01-01
授权
2021-08-10
预估到期
2030-10-09
| 申请号 | CN202022225844.X |
| 申请日 | 2020-10-09 |
| 授权公布号 | CN213925411U |
| 授权公告日 | 2021-08-10 |
| 分类号 | D06B3/10;D06B23/20 |
| 分类 | 织物等的处理;洗涤;其他类不包括的柔性材料; |
| 申请人名称 | 浙江双灯家纺有限公司 |
| 申请人地址 | 浙江省金华市兰溪市兰江街道雁洲路8号 |
专利法律状态
2021-08-10
授权
状态信息
授权
摘要
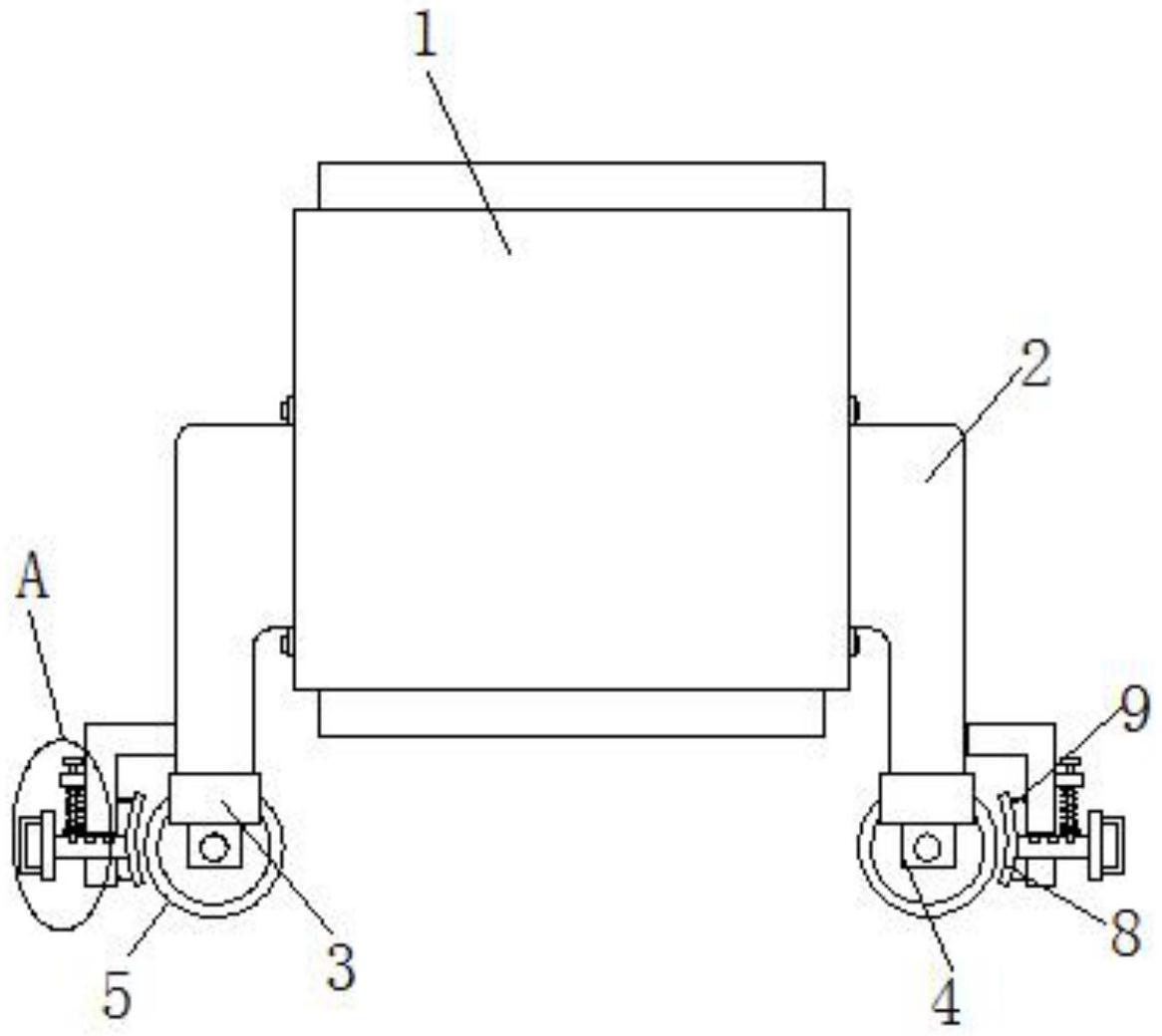
本实用新型公开了一种毛巾制造用循环式滚筒染色机,包括染色机本体,所述染色机本体的两侧外壁上均固定连接有支撑架,所述支撑架的底部固定连接有安装板,所述安装板的底部固定连接有对称设置的两个安装块,两个所述安装块上均转动连接有滚轮,所述支撑架外壁上固定连接有与滚轮位置对应的L型支撑板,所述L型支撑板底部滑动插设有推杆,所述推杆靠近滚轮的一端固定连接有弧形卡板,所述弧形卡板与L型支撑板之间固定连接有对称设置的两个第一弹簧。


