授权公布号:CN215065260U
一种发动机测试用拉环式联轴器
有效
申请
2021-06-28
申请公布
1970-01-01
授权
2021-12-07
预估到期
2031-06-28
| 申请号 | CN202121461740.7 |
| 申请日 | 2021-06-28 |
| 授权公布号 | CN215065260U |
| 授权公告日 | 2021-12-07 |
| 分类号 | G01M15/02 |
| 分类 | 测量;测试; |
| 申请人名称 | 山东潍坊拖拉机厂集团有限公司 |
| 申请人地址 | 山东省潍坊市经济开发区月河路1399号 |
专利法律状态
2021-12-07
授权
状态信息
授权
摘要
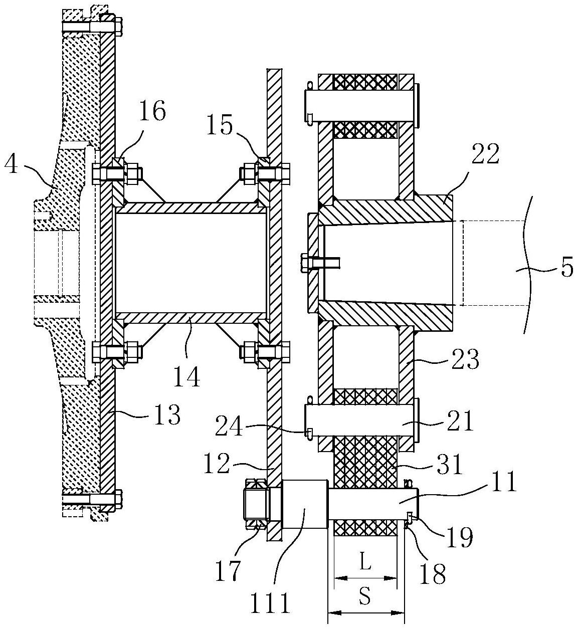
本实用新型公开了一种发动机测试用拉环式联轴器,涉及联轴器技术领域。一种发动机测试用拉环式联轴器,包括主动半联轴器、从动半联轴器和柔性连接组件,所述主动半联轴器上设置有主动连接件,所述从动半联轴器上设置有从动连接件,所述主动连接件与所述从动连接件互错,所述柔性连接组件的一端与所述主动连接件连接,所述柔性连接组件的另一端与所述从动连接件连接。本实用新型一种发动机测试用拉环式联轴器不但能够适应大扭矩转动,而且能够适应同轴差、连接距离不稳定的现状,并且具有减振功能,在发动机出厂试验中使用该联轴器既简化了发动机测试过程中的安装调试过程,又满足了测试要求,提高了测试效率。


