授权公布号:CN214641917U
飞轮壳双面加工工装
有效
申请
2021-03-29
申请公布
1970-01-01
授权
2021-11-09
预估到期
2031-03-29
| 申请号 | CN202120636096.6 |
| 申请日 | 2021-03-29 |
| 授权公布号 | CN214641917U |
| 授权公告日 | 2021-11-09 |
| 分类号 | B23Q3/06 |
| 分类 | 机床;不包含在其他类目中的金属加工; |
| 申请人名称 | 山东潍坊拖拉机厂集团有限公司 |
| 申请人地址 | 山东省潍坊市经济开发区月河路1399号 |
专利法律状态
2021-11-09
授权
状态信息
授权
摘要
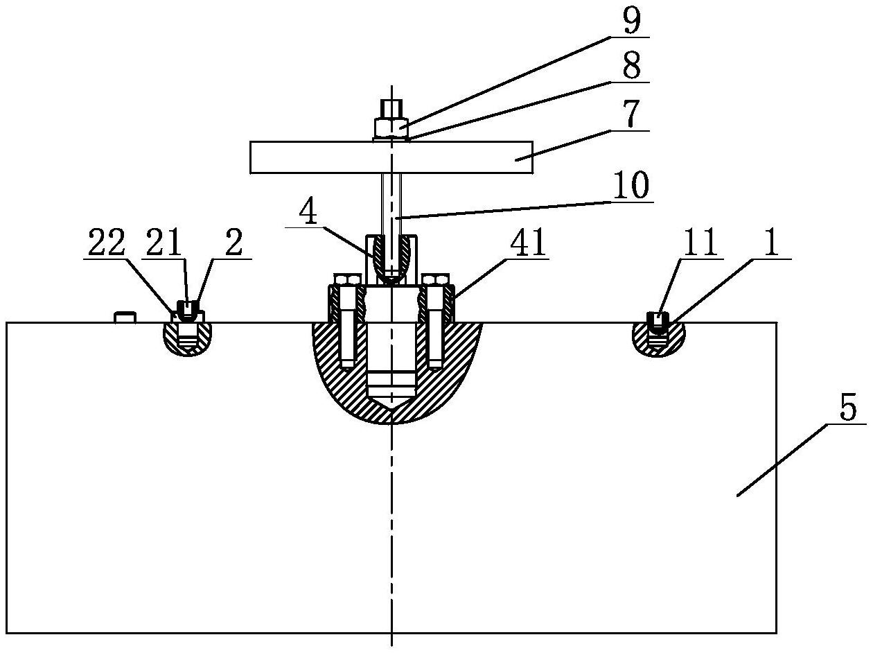
本实用新型公开了一种飞轮壳双面加工工装,包括:载台和将飞轮壳固定于载台的飞轮壳固定装置,载台固定设有用于定位飞轮壳加工零点的零点定位销、定位飞轮壳与发动机相接触面的第一定位销组和定位飞轮壳与变速箱相接触面的第二定位销组;零点定位销设有零点螺纹孔,飞轮壳固定装置包括压板、螺杆和与螺杆螺纹连接的螺母,螺杆穿过压板与零点螺纹孔螺纹连接。本申请采用在同一工艺零点下加工飞轮壳的多道工序,并可对不同的飞轮壳加工,通用性好,减少了设备投入,降低了生产成本,节约了调试时间,减轻了工人劳动。


