授权公布号:CN2574934
一种拖拉机变速操纵机构
有效
申请
2002-09-24
申请公布
1970-01-01
授权
2003-09-24
预估到期
2012-09-24
| 申请号 | CN02269578.8 |
| 申请日 | 2002-09-24 |
| 授权公布号 | CN2574934 |
| 授权公告日 | 2003-09-24 |
| 分类号 | B60K23/00 |
| 分类 | 一般车辆; |
| 申请人名称 | 山东潍坊拖拉机厂集团有限公司 |
| 申请人地址 | 山东省潍坊市潍城区北宫东街63号 |
专利法律状态
2021-11-02
授权
状态信息
授权
2008-12-10
专利权的终止(未缴年费专利权终止)
状态信息
专利权的终止(未缴年费专利权终止);授权公告日:2003.9.24
2003-09-24
实用新型专利权授予
状态信息
授权
摘要
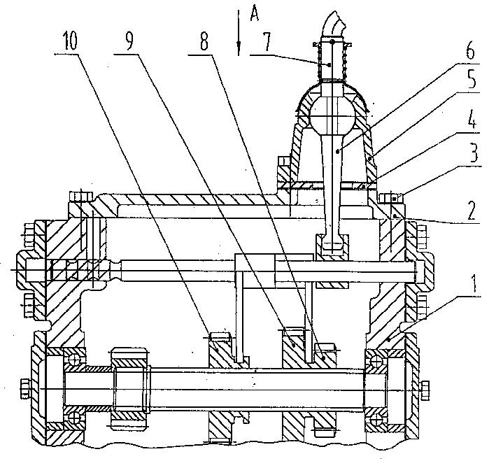
本实用新型涉及拖拉机技术领域,它包括变速箱体,变速箱体与前盖固定连接,变速杆导板和变速杆座体与前盖一侧固定连接,变速杆座体上安装有变速杆组合件,变速杆组合件下端具有变速杆,滑杆I上固定安装有换档拨头I,滑杆II上固定安装有换档拨头II,变速杆下端放置于换档拨头I和换档拨头II构成的凹槽内,在滑杆I上固定连接有变速拨叉I,滑杆II上固定连接有变速拨叉II。本实用新型使拖拉机变速操纵便捷、灵活,可方便的增减变速档位,具有结构简单、变速可靠、使用方便、拖拉机变速操纵机构舒适等优点。


