授权公布号:CN210949712U
变速箱输入动力换向机构
有效
申请
2019-11-13
申请公布
1970-01-01
授权
2020-07-07
预估到期
2029-11-13
| 申请号 | CN201921960665.1 |
| 申请日 | 2019-11-13 |
| 授权公布号 | CN210949712U |
| 授权公告日 | 2020-07-07 |
| 分类号 | F16H3/10;F16H57/023 |
| 分类 | 工程元件或部件;为产生和保持机器或设备的有效运行的一般措施;一般绝热; |
| 申请人名称 | 山东潍坊拖拉机厂集团有限公司 |
| 申请人地址 | 山东省潍坊市经济开发区月河路1399号 |
专利法律状态
2020-07-07
授权
状态信息
授权
摘要
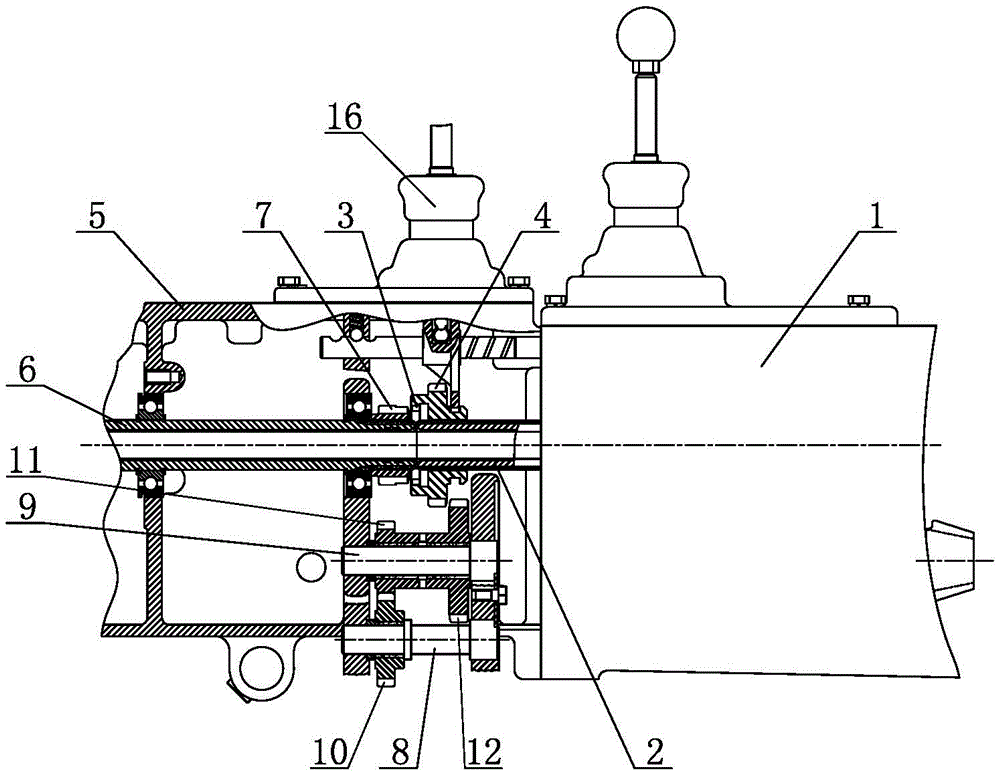
本实用新型公开了一种变速箱输入动力换向机构,包括:变速箱输入轴,变速箱输入轴设有变速箱输入齿轮,变速箱输入齿轮由离合器输出齿轮驱动,变速箱输入齿轮连接有变速箱换向输入齿轮,变速箱换向输入齿轮连接有换挡装置,变速箱换向输入齿轮与离合器输出齿轮之间设有第一中间齿轮、第二中间齿轮和第三中间齿轮,第一中间齿轮设于中间齿轮轴,第二中间齿轮和第三中间齿轮设于从动齿轮轴,离合器输出齿轮与第一中间齿轮啮合,第一中间齿轮与第二中间齿轮啮合,第三中间齿轮与第二中间齿轮同步转动,第三中间齿轮与变速箱换向输入齿轮啮合。本申请可以改变变速箱输入动力的旋转方向,为变速箱增加了更多的功能选择,扩大了拖拉机的使用范围。


