授权公布号:CN214362357U
一种晾衣杆长槽孔皮圈
有效
申请
2021-03-02
申请公布
1970-01-01
授权
2021-10-08
预估到期
2031-03-02
| 申请号 | CN202120451721.X |
| 申请日 | 2021-03-02 |
| 授权公布号 | CN214362357U |
| 授权公告日 | 2021-10-08 |
| 分类号 | D06F57/12 |
| 分类 | 织物等的处理;洗涤;其他类不包括的柔性材料; |
| 申请人名称 | 郑州市恋日智能家居有限公司 |
| 申请人地址 | 河南省郑州市高新区红松路52号3幢2层201号 |
专利法律状态
2021-10-08
授权
状态信息
授权
摘要
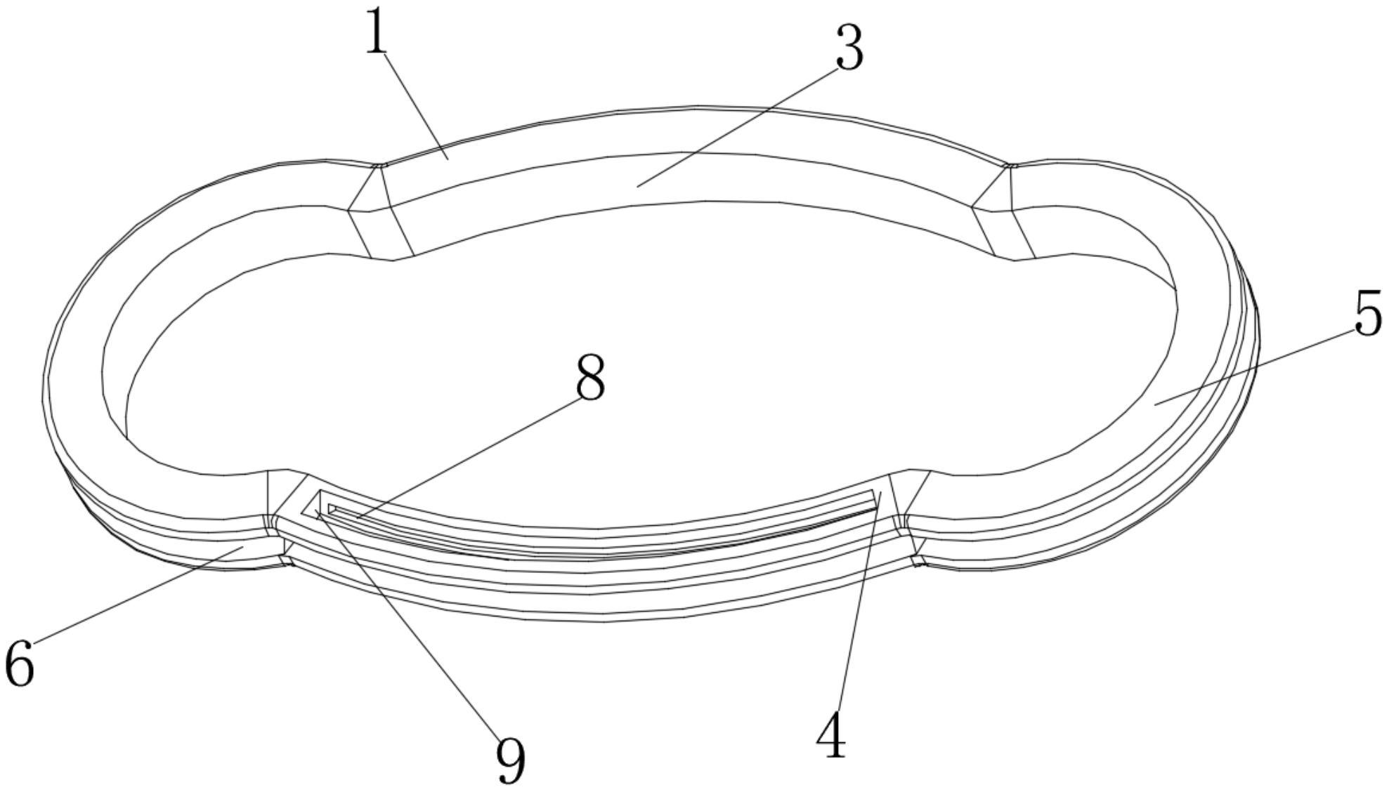
本实用新型公开了一种晾衣杆长槽孔皮圈,尤其涉及一种安装在电动晾衣杆上的长槽孔装饰皮圈,所述长槽孔皮圈由上段、下段和两侧的端头组成,所述端头的形状分为环形或方形,所述长槽孔皮圈外表面环形方向上设有卡槽,所述晾衣杆的内部开设有长槽孔,所述长槽孔皮圈外表面开设的卡槽与晾衣杆上的长槽孔相配合,所述长槽孔皮圈的材质为软质橡胶或软质PVC。本实用新型通过长槽孔皮圈外表面开设的卡槽与晾衣杆上的长槽孔之间的配合,当使用者拉伸长槽孔皮圈,使得长槽孔皮圈外缘开设得卡槽卡接到长槽孔边缘上,既便于安装又不容易脱落。


