授权公布号:CN213498506U
一种胶囊抛光机自动进料装置
有效
申请
2020-10-28
申请公布
1970-01-01
授权
2021-06-22
预估到期
2030-10-28
| 申请号 | CN202022426268.5 |
| 申请日 | 2020-10-28 |
| 授权公布号 | CN213498506U |
| 授权公告日 | 2021-06-22 |
| 分类号 | B24B41/00;B24B31/10;B24B31/12 |
| 分类 | 磨削;抛光; |
| 申请人名称 | 江苏江大源生态生物科技股份有限公司 |
| 申请人地址 | 江苏省镇江市高新技术产业开发园区扬帆路2号 |
专利法律状态
2021-06-22
授权
状态信息
授权
摘要
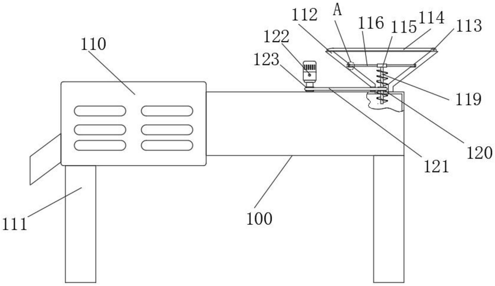
本实用新型涉及胶囊抛光机加工技术领域,具体为一种胶囊抛光机自动进料装置,包括装置主体,所述装置主体包括抛光机主体,所述抛光机主体底端的四个拐角处皆安装有支撑架,所述抛光机主体的顶端安装有入料口,所述入料口的内部安装有安装块,所述安装块的两侧皆安装有连接杆,所述安装块的底端安装有搅拌轴,所述搅拌轴的外表面套接安装有第一套接环。本实用新型通过设置有搅拌轴,在工作人员启动旋转电机来使得搅拌轴进行转动时,从而来对工作人员倒入至入料口内部的原料进行打散,从而来防止工作人员倒入至入料口内部的原料会在入料口内部堆积起来,从而来方便原料进入至抛光机主体内部并对原料进行加工。


