授权公布号:CN213853830U
一种干燥转笼设备的除湿系统
有效
申请
2020-10-27
申请公布
1970-01-01
授权
2021-08-03
预估到期
2030-10-27
| 申请号 | CN202022416849.0 |
| 申请日 | 2020-10-27 |
| 授权公布号 | CN213853830U |
| 授权公告日 | 2021-08-03 |
| 分类号 | B01D53/26;B01D46/10;B01D46/00 |
| 分类 | 一般的物理或化学的方法或装置; |
| 申请人名称 | 江苏江大源生态生物科技股份有限公司 |
| 申请人地址 | 江苏省镇江市高新技术产业开发园区扬帆路2号 |
专利法律状态
2021-08-03
授权
状态信息
授权
摘要
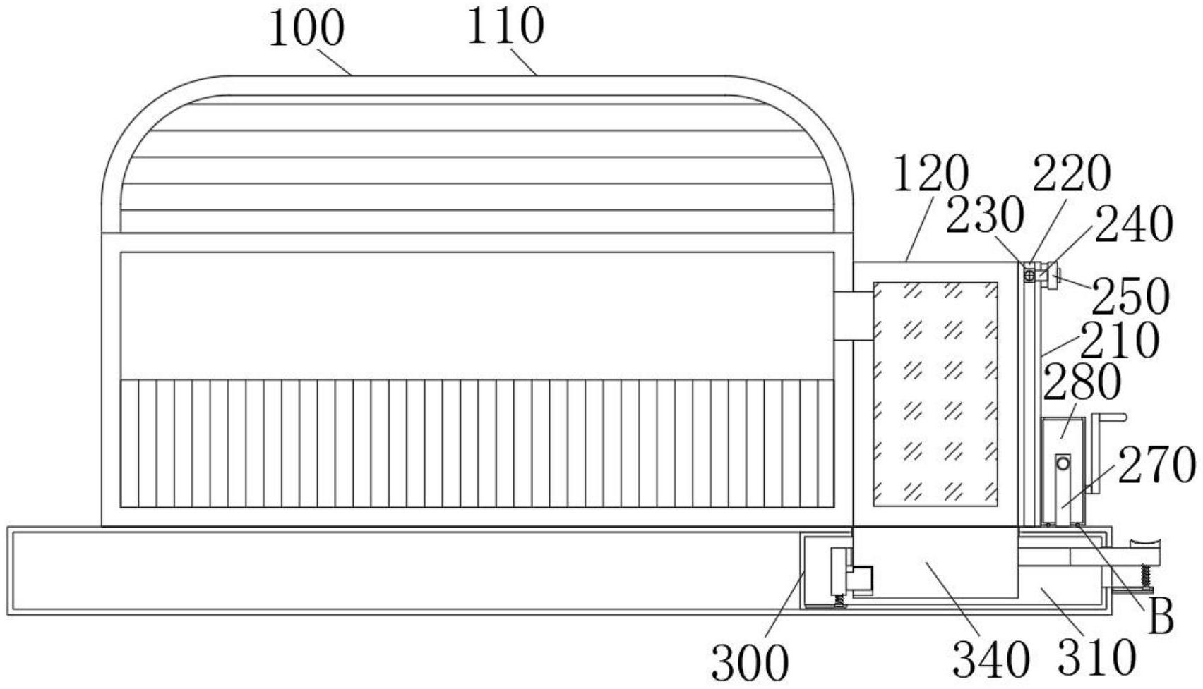
本实用新型涉及除湿系统技术领域,具体为一种干燥转笼设备的除湿系统,包括装置主体,所述装置主体包括设备主体、除湿器和过滤网主体,且设备主体右侧贴合有除湿器,所述除湿器底端固定连接在设备主体右侧上方,且除湿器右侧固定连接有过滤网主体,所述过滤网主体右侧设置有清理机构,且清理机构包括第一支撑杆,所述设备主体右侧上方前后两侧皆固定连接有第一支撑杆,且第一支撑杆内壁皆开设有第一滑槽。本实用新型通过此装置使得过滤网主体在需要长期使用后,通过拨动推把,便可以使得清扫刷对过滤网主体进行清理,不需要将过滤网主体拆卸进行清理,节省了工作人员的时间,提高了装置的实用性和便捷性。


