授权公布号:CN213502965U
一种用于改善压丸机明胶上料的供应装置
有效
申请
2020-10-28
申请公布
1970-01-01
授权
2021-06-22
预估到期
2030-10-28
| 申请号 | CN202022430072.3 |
| 申请日 | 2020-10-28 |
| 授权公布号 | CN213502965U |
| 授权公告日 | 2021-06-22 |
| 分类号 | B65B1/04 |
| 分类 | 输送;包装;贮存;搬运薄的或细丝状材料; |
| 申请人名称 | 江苏江大源生态生物科技股份有限公司 |
| 申请人地址 | 江苏省镇江市高新技术产业开发园区扬帆路2号 |
专利法律状态
2021-06-22
授权
状态信息
授权
摘要
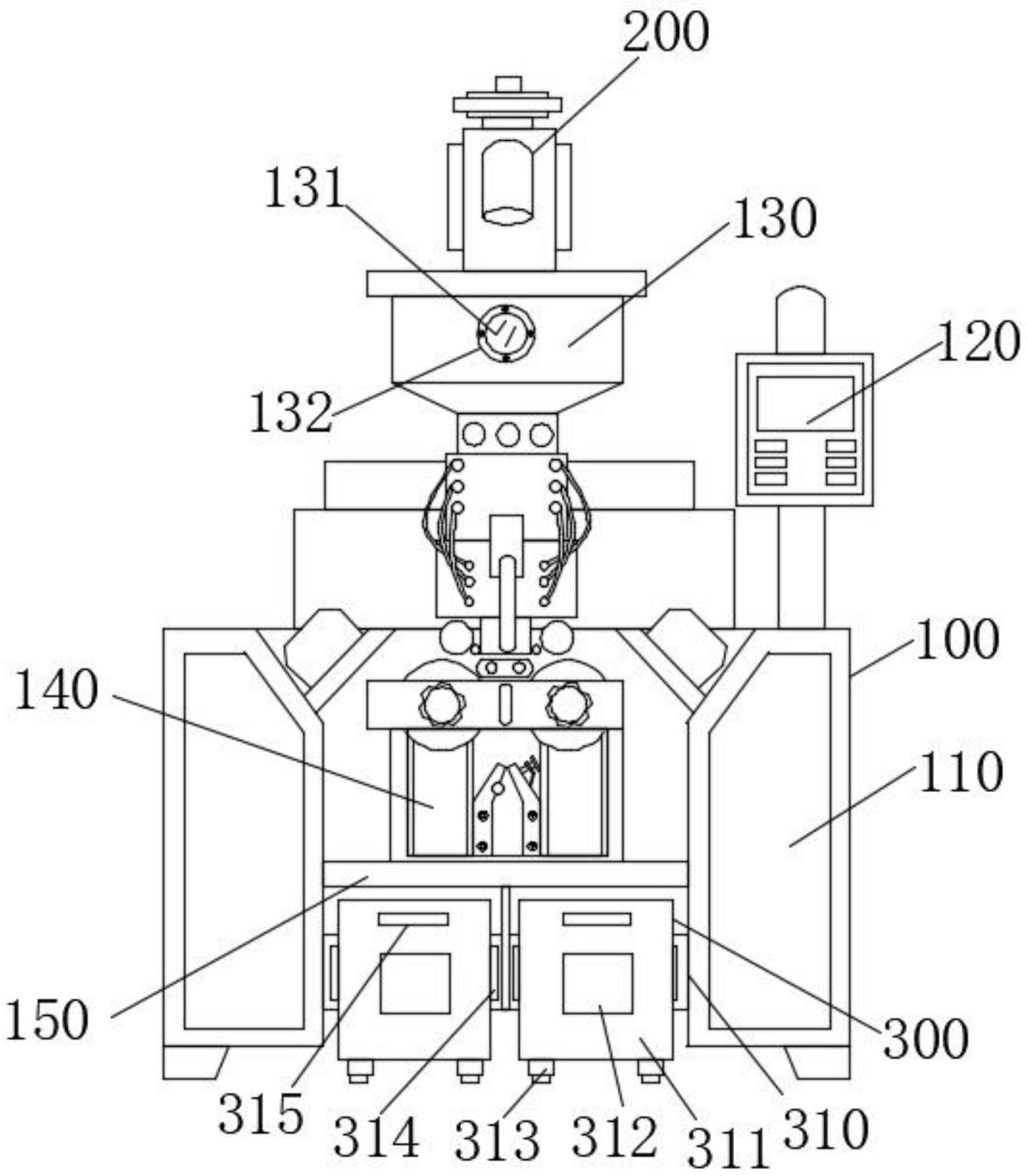
本实用新型涉及压丸机技术领域,具体为一种用于改善压丸机明胶上料的供应装置,包括装置主体,所述装置主体包括压丸机本体,所述压丸机本体的顶端固定安装有上料箱,所述压丸机本体的正面开设有出料口,所述压丸机本体的正面固定安装有收料机构,所述压丸机本体的顶端固定安装有显示屏。本实用新型通过设置有视窗和上料机构,倒料箱内部的原料不断的向上输送,然后从出料管的一侧挤出,顺着出料管滑入到上料箱的内部,通过控制伺服电机的转动速度,从而使得出料管的出料速度被控制,解决了上料箱位置太高,工作人员上料麻烦,难以自动上料的问题,工作人员能够通过视窗观察到上料箱内部原料的剩余量,便于及时给上料箱供料。


