授权公布号:CN214711461U
一种装饰柜
有效
申请
2020-11-13
申请公布
1970-01-01
授权
2021-11-16
预估到期
2030-11-13
| 申请号 | CN202022638177.8 |
| 申请日 | 2020-11-13 |
| 授权公布号 | CN214711461U |
| 授权公告日 | 2021-11-16 |
| 分类号 | A47B81/00;A47B96/06;A47B95/00 |
| 分类 | 家具;家庭用的物品或设备;咖啡磨;香料磨;一般吸尘器; |
| 申请人名称 | 广东名杉家居有限公司 |
| 申请人地址 | 广东省佛山市南海区狮山镇南浦村民委员会原下果场文岗咀张立伟综合楼第一层自编1号 |
专利法律状态
2021-11-16
授权
状态信息
授权
摘要
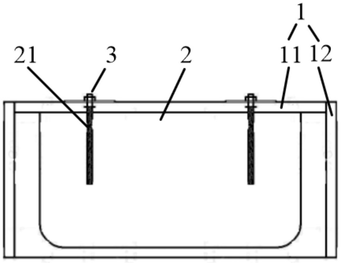
本实用新型公开了一种装饰柜,包括柜体、设于柜体内的层板和连接件;所述柜体包括顶板、底板、背板和侧板;所述层板通过所述连接件与所述背板连接;所述连接件包括螺杆、螺母和金属片,所述背板上设有多个安装孔,所述层板内设有用于安插所述螺杆的螺纹槽,所述螺杆穿过所述安装孔并安插于所述螺纹槽中,所述螺杆通过螺母和金属片与所述背板连接;所述层板与所述侧板之间形成预设间隙,所述层板与所述侧板互不连接。采用本实用新型,能够得到结构简单,稳固性好,安装便捷的装饰柜。


