授权公布号:CN217713238U
一种带有燕尾榫的榫卯连接结构
有效
申请
2022-06-06
申请公布
1970-01-01
授权
2022-11-01
预估到期
2032-06-06
| 申请号 | CN202221410149.3 |
| 申请日 | 2022-06-06 |
| 授权公布号 | CN217713238U |
| 授权公告日 | 2022-11-01 |
| 分类号 | F16B12/10;F16B7/00;F16B9/02;A47B13/02;A47B13/00 |
| 分类 | 工程元件或部件;为产生和保持机器或设备的有效运行的一般措施;一般绝热; |
| 申请人名称 | 广州康耐登家居用品有限公司 |
| 申请人地址 | 广东省广州市萝岗区九龙镇镇龙村竹园社 |
专利法律状态
2022-11-01
授权
状态信息
授权
摘要
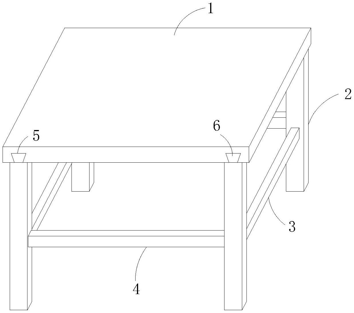
本实用新型公开了一种带有燕尾榫的榫卯连接结构,包括桌板、支腿、一号横杆以及二号横杆,桌板底面的四角均设置有燕尾槽,支腿设置有四个,且四个支腿的顶面均设置有燕尾榫,且四个燕尾榫分别滑动卡装于相应的燕尾槽内;支腿的两个内侧面上分别设置有一号卯孔和二号卯孔,一号横杆的两端均设置有与一号卯孔卡接连接的一号榫头,二号横杆的两端均设置有与二号卯孔卡接连接的二号榫头;本实用新型通过燕尾榫结构将桌板与桌腿之间进行连接安装,可提高桌板与桌腿连接的牢固性,防止桌腿向下脱落,同时相邻桌腿之间通过卯榫结构连接有加固横杆,可对桌腿进行加固,提高桌子整体的稳定性。


