授权公布号:CN216390745U
一种按摩椅3D马达行程限位结构
有效
申请
2021-11-08
申请公布
1970-01-01
授权
2022-04-26
预估到期
2031-11-08
| 申请号 | CN202122725714.7 |
| 申请日 | 2021-11-08 |
| 授权公布号 | CN216390745U |
| 授权公告日 | 2022-04-26 |
| 分类号 | H02K11/215;H02K5/24 |
| 分类 | 发电、变电或配电; |
| 申请人名称 | 广东生命动力按摩器材有限公司 |
| 申请人地址 | 广东省东莞市石排镇中坑中新路3号102室 |
专利法律状态
2022-04-26
授权
状态信息
授权
摘要
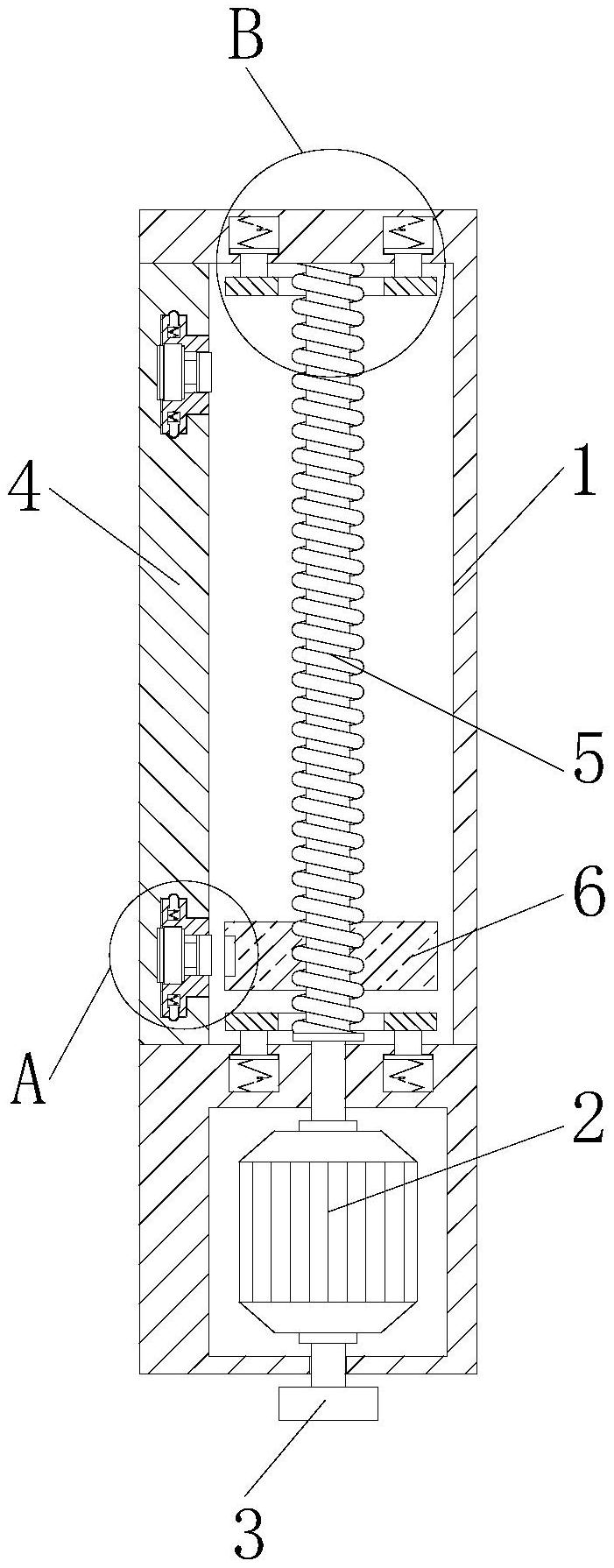
本实用新型公开了一种按摩椅3D马达行程限位结构,包括外壳,所述外壳下方内部设置有马达主体,且马达主体下方设置有输出带轮,所述外壳左侧连接有旋转板,且旋转板右侧设置有丝杆,所述丝杆外围设置有移动座,所述旋转板内部设置有滑槽,且滑槽内部连接有滑块,所述滑块内部设置有固定槽,且固定槽内部连接有霍尔元件,并且霍尔元件左侧设置有顶块,所述固定槽两侧设置有卡块,且卡块一侧设置有卡槽。该按摩椅3D马达行程限位结构,通过设置的霍尔元件取代传统的光耦感应器,能够有效的提升限位的精度,也能够保证限位传感器的使用寿命更长,同时通过在移动座行程两端设置霍尔元件,从而使得检测更为精准。


