授权公布号:CN209551375U
一种吊扇下壳磨边机
有效
申请
2019-01-23
申请公布
1970-01-01
授权
2019-10-29
预估到期
2029-01-23
| 申请号 | CN201920119298.6 |
| 申请日 | 2019-01-23 |
| 授权公布号 | CN209551375U |
| 授权公告日 | 2019-10-29 |
| 分类号 | B24B9/20;B24B41/06;B24B41/00 |
| 分类 | 磨削;抛光; |
| 申请人名称 | 佛山市南海飞行电器实业有限公司 |
| 申请人地址 | 广东省佛山市南海区丹灶镇南海国家生态工业示范园区凤凰大道18号 |
专利法律状态
2019-10-29
授权
状态信息
授权
摘要
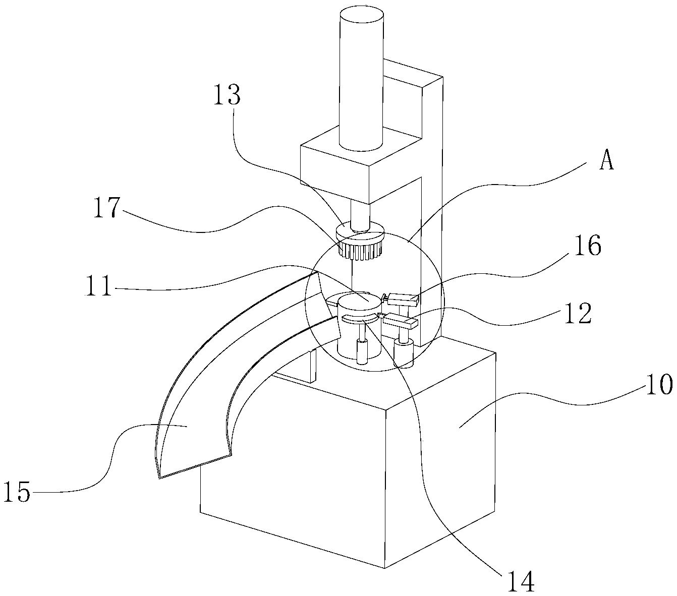
本实用新型主要涉及风扇扇叶生产设备,具体涉及一种吊扇下壳磨边机,包括一基座,所述基座上设置有可相对基座转动的转轴,所述转轴正上方设有可上下往返运动的固定罩,转轴侧边设有磨刀,放置在转轴上的下壳通过固定罩固定,转轴旋转带动下壳和固定罩一起转动,使得下壳边缘被磨刀打磨,在基座上设有可旋转的转轴,放置在转轴上的下壳被固定罩压住,转轴发生转动,使得下壳的边缘与磨刀发生摩擦,下壳边缘被打磨,相比传统的人工打磨,不仅效率高而且打磨效果好,节约了大量的劳动率,提高了生产效率,在打磨完成后,推片将下壳推起,双杆气缸将下壳推走,下壳在旋转的情况下被推出飞到导槽内,实现了自动落料,无须人工落料,方便快捷。


