授权公布号:CN219785000U
大豆粉碎机构
有效
申请
2023-01-06
申请公布
1970-01-01
授权
2023-10-03
预估到期
2033-01-06
| 申请号 | CN202320029614.7 |
| 申请日 | 2023-01-06 |
| 授权公布号 | CN219785000U |
| 授权公告日 | 2023-10-03 |
| 分类号 | B02C18/14;B02C4/00;B30B9/20 |
| 分类 | 破碎、磨粉或粉碎;谷物碾磨的预处理; |
| 申请人名称 | 湖南桃林佬食品股份有限公司 |
| 申请人地址 | 湖南省岳阳市临湘市桃林镇何杨路18号 |
专利法律状态
2023-10-03
授权
状态信息
授权
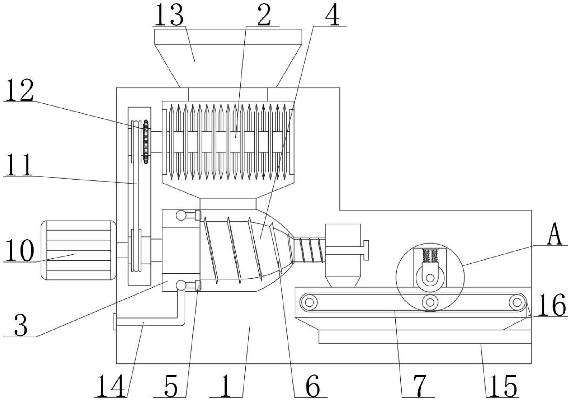
摘要
本实用新型涉及豆制品加工技术领域,尤其为大豆粉碎机构,包括加工箱、电机和进料斗,所述加工箱的内部上侧转动连接有粉碎刀辊,所述加工箱的内部左端下侧固定连接有固定喷水环,所述固定喷水环的内侧转动连接有研磨辊,所述固定喷水环的右端密封连接有注水喷头,所述研磨辊的外侧固定连接有挤压螺旋齿,本实用新型中,通过设置的粉碎刀辊、注水喷头和挤压螺旋齿,利用粉碎刀辊的转动作用能够对大豆进行初步粉碎,并通过研磨辊能够对大豆进行研磨加工,并在挤压螺旋齿的转动作用下使研磨加工的大豆粉末能够不断的向右侧挤出,同时通过注水喷头的作用使装置能够将粉碎研磨后的大豆形成豆浆,提升豆制品加工效率。


