授权公布号:CN211901982U
一种密封件防脱落的软管接头
有效
申请
2020-01-17
申请公布
1970-01-01
授权
2020-11-10
预估到期
2030-01-17
| 申请号 | CN202020105136.X |
| 申请日 | 2020-01-17 |
| 授权公布号 | CN211901982U |
| 授权公告日 | 2020-11-10 |
| 分类号 | F16L33/18;F16L33/24 |
| 分类 | 工程元件或部件;为产生和保持机器或设备的有效运行的一般措施;一般绝热; |
| 申请人名称 | 宁波杜凯软管有限公司 |
| 申请人地址 | 浙江省宁波市余姚马渚镇北兴路1号 |
专利法律状态
2020-11-10
授权
状态信息
授权
摘要
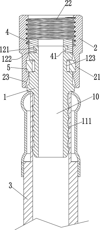
本实用新型公开了一种密封件防脱落的软管接头,包括连接头和螺纹套,所述连接头的中部设有贯穿两端的通孔,所述连接头包括第一连接部和第二连接部,所述第一连接部用于插接到管体内,所述第二连接部位于管体外,所述螺纹套转动连接在第二连接部上;所述第二连接部上在远离第一连接部的一端注塑有密封垫片,所述密封垫片是由塑料制成;将塑料制成的密封垫片注塑在第二连接部端部上,能够有效防止密封垫圈的脱落,从而保证软管接头的连接处不会出现漏水的现象。


