授权公布号:CN212471279U
一种用于塑料螺母的塑料扳手
有效
申请
2020-06-10
申请公布
1970-01-01
授权
2021-02-05
预估到期
2030-06-10
| 申请号 | CN202021055575.0 |
| 申请日 | 2020-06-10 |
| 授权公布号 | CN212471279U |
| 授权公告日 | 2021-02-05 |
| 分类号 | B25B13/48 |
| 分类 | 手动工具;轻便机动工具;手动器械的手柄;车间设备;机械手; |
| 申请人名称 | 宁波杜凯软管有限公司 |
| 申请人地址 | 浙江省宁波市余姚市马渚镇北兴路1号 |
专利法律状态
2021-02-05
授权
状态信息
授权
摘要
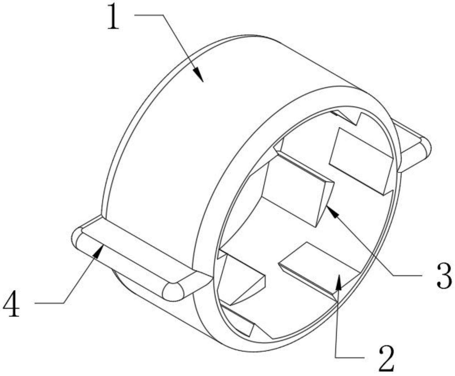
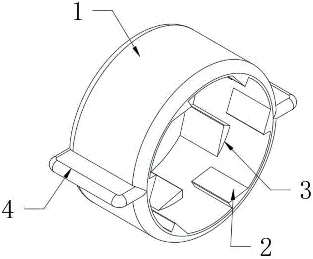
本实用新型公开了一种用于塑料螺母的塑料扳手,涉及到扳手技术领域,包括螺帽和作用于螺帽上的扳手主体,所述螺帽的外表面上呈环形阵列分布有螺帽加强筋,所述扳手主体设置呈中空结构,中空结构设置扳手主体的内壁上固定设置有多个第一作用筋和第二作用筋,多个所述第一作用筋在同一圆周上呈环形阵列分布。本实用新型的塑料扳手用于螺帽上,通过斜面设置的锁紧面和垂直面设置的释放面与螺帽加强筋的相互作用,为解决在狭小的安装空间无法使用常用扳手及无法控制螺帽拧紧扭矩问题,扭矩过大对螺帽造成损坏,扭矩过小等均无法进行有效密封的问题;同时本装置结构简单,操作方便,适合使用。


