授权公布号:CN211195075U
一种茶干用压模装置
有效
申请
2019-10-25
申请公布
1970-01-01
授权
2020-08-07
预估到期
2029-10-25
| 申请号 | CN201921802939.4 |
| 申请日 | 2019-10-25 |
| 授权公布号 | CN211195075U |
| 授权公告日 | 2020-08-07 |
| 分类号 | B30B15/02;B30B15/30;A23C20/02 |
| 分类 | 压力机; |
| 申请人名称 | 马鞍山江心绿洲食品有限公司 |
| 申请人地址 | 安徽省马鞍山市当涂县江心乡新锦村 |
专利法律状态
2020-08-07
授权
状态信息
授权
摘要
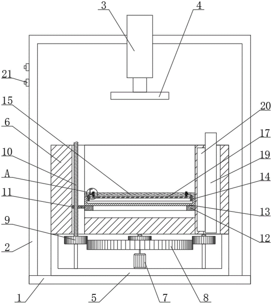
本实用新型涉及茶干压模装置技术领域,尤其为一种茶干用压模装置,包括工作台,所述工作台顶端固定连接有支架,两个所述支架之间固定连接有液压杆,所述液压杆主轴末端固定连接有压盘,所述工作台顶端固定连接有底座,所述底座顶端固定连接有外壳,所述底座顶端固定连接有电机,所述电机主轴末端固定连接有主动轮,所述主动轮外侧啮合有从动轮,所述从动轮顶端固定连接有螺纹杆,所述螺纹杆外侧螺旋连接有连接块,所述连接块一侧固定连接有托盘,位于左端的所述液压杆左侧固定连接有按钮,本实用新型中,通过设置的主动轮、从动轮、螺纹杆和连接块,降低人工成本,省时省力,便于放置料盘和物料,提高装置使用的便捷性,操作简单。


