授权公布号:CN214780692U
一种蛋干原料配送装置
有效
申请
2021-01-25
申请公布
1970-01-01
授权
2021-11-19
预估到期
2031-01-25
| 申请号 | CN202120207333.7 |
| 申请日 | 2021-01-25 |
| 授权公布号 | CN214780692U |
| 授权公告日 | 2021-11-19 |
| 分类号 | B67C3/26;B67C3/24;B67C3/22 |
| 分类 | 开启或封闭瓶子、罐或类似的容器;液体的贮运; |
| 申请人名称 | 上海艺杏食品有限公司 |
| 申请人地址 | 上海市嘉定区江桥镇宝园三路617号 |
专利法律状态
2021-11-19
授权
状态信息
授权
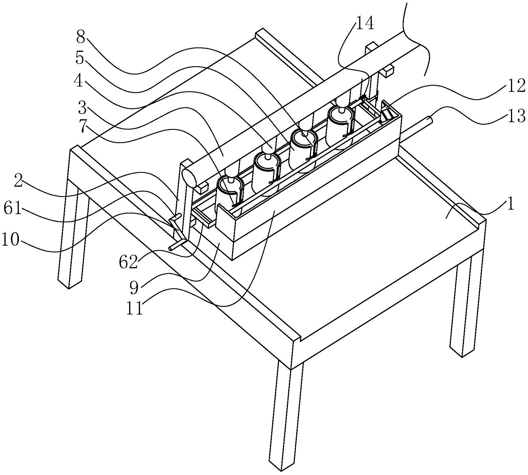
摘要
本申请涉及蛋干加工的领域,尤其涉及一种蛋干原料配送装置,其包括操作台,操作台远离地面的一端固定设置有支架,支架远离操作台的一端水平设置有进料管;进料管靠近操作台的并排连通设置有若干个分流管;分流管底端设置有与若干个分流管一一对应的蛋液分装罐;支架远离分流管的一端转动设置有用于驱动蛋液分装罐翻转的转动组件;蛋液分装罐沿自身翻转方向的背侧壁开设有溢流口;溢流口与蛋液分装罐罐口之间连通设置有旋转口,且旋转口沿蛋液分装罐翻转方向开设;所述蛋液分装罐底端设置有用于收集蛋液的收集框。本申请具有提高蛋液定量灌装工序的操作效率的效果。


