授权公布号:CN214593594U
一种打蛋机输送清洗装置
有效
申请
2021-01-11
申请公布
1970-01-01
授权
2021-11-05
预估到期
2031-01-11
| 申请号 | CN202120068863.8 |
| 申请日 | 2021-01-11 |
| 授权公布号 | CN214593594U |
| 授权公告日 | 2021-11-05 |
| 分类号 | A01K43/00 |
| 分类 | 农业;林业;畜牧业;狩猎;诱捕;捕鱼; |
| 申请人名称 | 上海艺杏食品有限公司 |
| 申请人地址 | 上海市嘉定区江桥镇宝园三路617号 |
专利法律状态
2021-11-05
授权
状态信息
授权
摘要
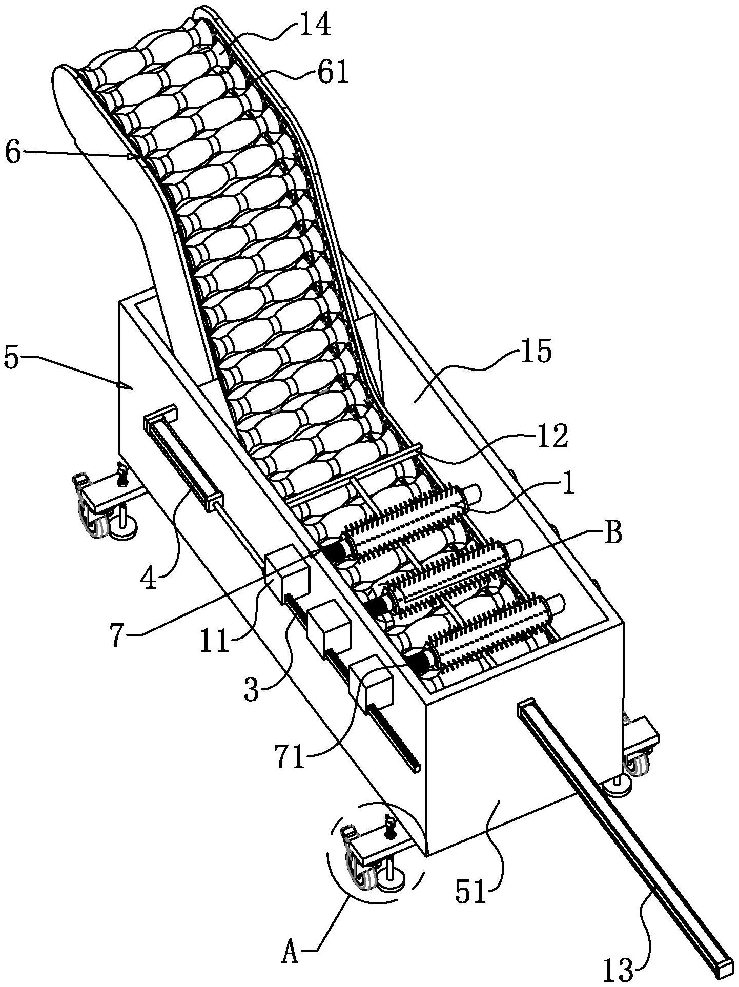
本申请涉及一种打蛋机输送清洗装置,其包括清洗装置,清洗装置上设有传输装置,其特征在于:清洗装置包括清洗箱,清洗箱的上端部沿水平方向转动连接有多个清洗毛刷,清洗毛刷一端同轴设有连接件,连接件远离清洗毛刷的一端同轴固设有转动齿轮,多个转动齿轮置于同一水平面上,清洗箱上沿水平方向设有同时与多个转动齿轮啮合连接的转动齿条,转动齿条沿其长度方向移动。本申请具有使鸡蛋表面的污垢和细菌被更好地清洗干净的效果。


