授权公布号:CN214524685U
一种豆制品包装机用进料装置
有效
申请
2021-01-11
申请公布
1970-01-01
授权
2021-10-29
预估到期
2031-01-11
| 申请号 | CN202120067115.8 |
| 申请日 | 2021-01-11 |
| 授权公布号 | CN214524685U |
| 授权公告日 | 2021-10-29 |
| 分类号 | B65B35/44 |
| 分类 | 输送;包装;贮存;搬运薄的或细丝状材料; |
| 申请人名称 | 上海艺杏食品有限公司 |
| 申请人地址 | 上海市嘉定区江桥镇宝园三路617号 |
专利法律状态
2021-10-29
授权
状态信息
授权
摘要
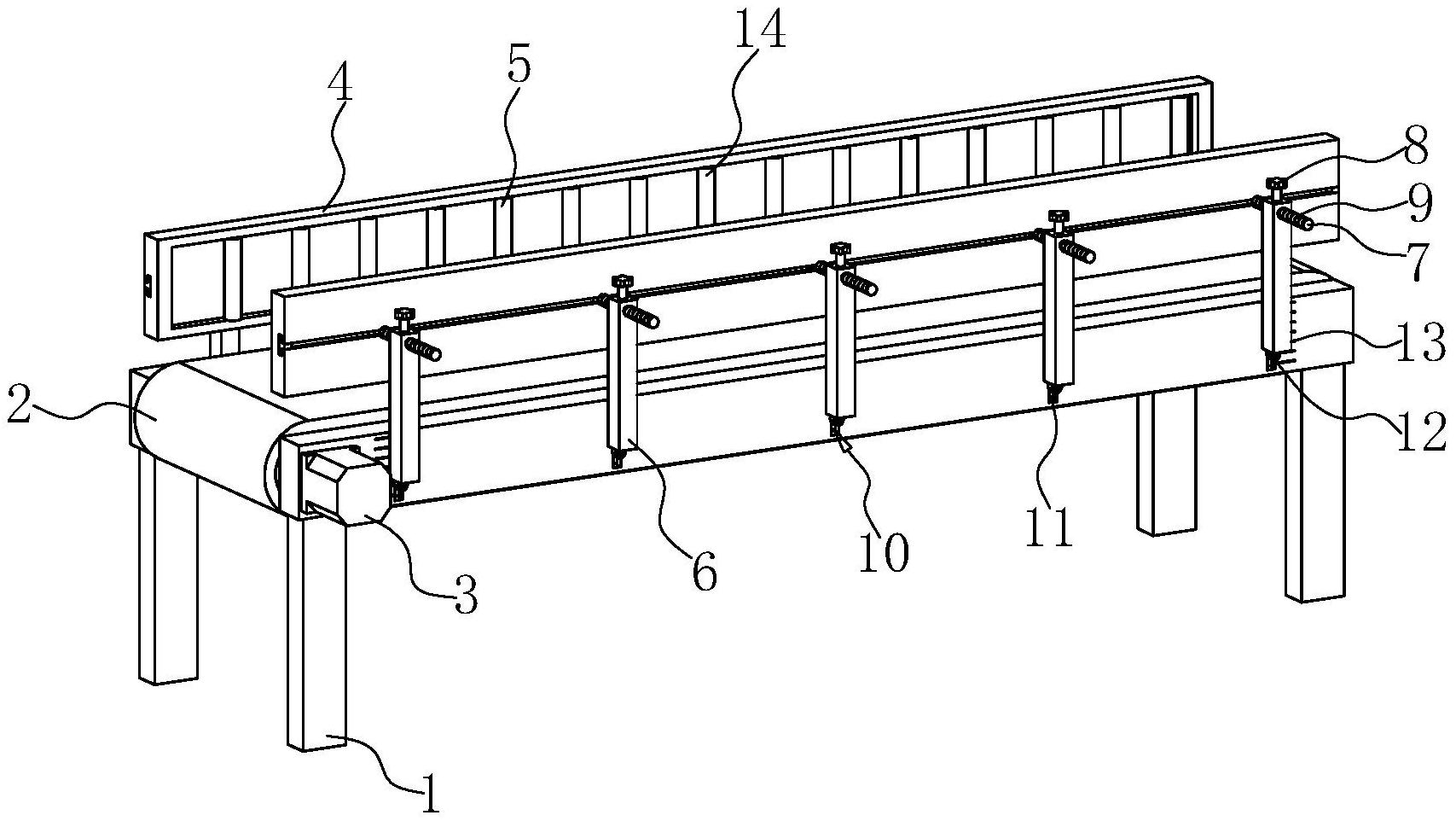
本申请涉及一种豆制品包装机用进料装置,涉及豆制品加工生产领域,其包括机架,机架上设置有传送带及驱动传送带进行转动的驱动组件;所述机架上位于传送带传送方向的两侧位置处设置有两限位板,两限位板相互靠近的一侧壁上设置有转动抵接豆制品的转动辊。本申请具有提高豆制品在进料过程中的稳定性的效果。


