授权公布号:CN112538715B
服装节能清洗装置
有效
申请
2020-11-12
申请公布
2021-03-23
授权
2022-11-08
预估到期
2040-11-12
| 申请号 | CN202011264219.4 |
| 申请日 | 2020-11-12 |
| 申请公布号 | CN112538715A |
| 申请公布日 | 2021-03-23 |
| 授权公布号 | CN112538715B |
| 授权公告日 | 2022-11-08 |
| 分类号 | D06F31/00;D06F39/08;D06F17/04;D06F17/08;D06F34/08;D06F37/30 |
| 分类 | 织物等的处理;洗涤;其他类不包括的柔性材料; |
| 申请人名称 | 美盛文化创意股份有限公司 |
| 申请人地址 | 浙江省绍兴市新昌省级高新技术园区内(南岩) |
专利法律状态
2022-11-08
授权
状态信息
授权
2021-03-23
公布
状态信息
公布
摘要
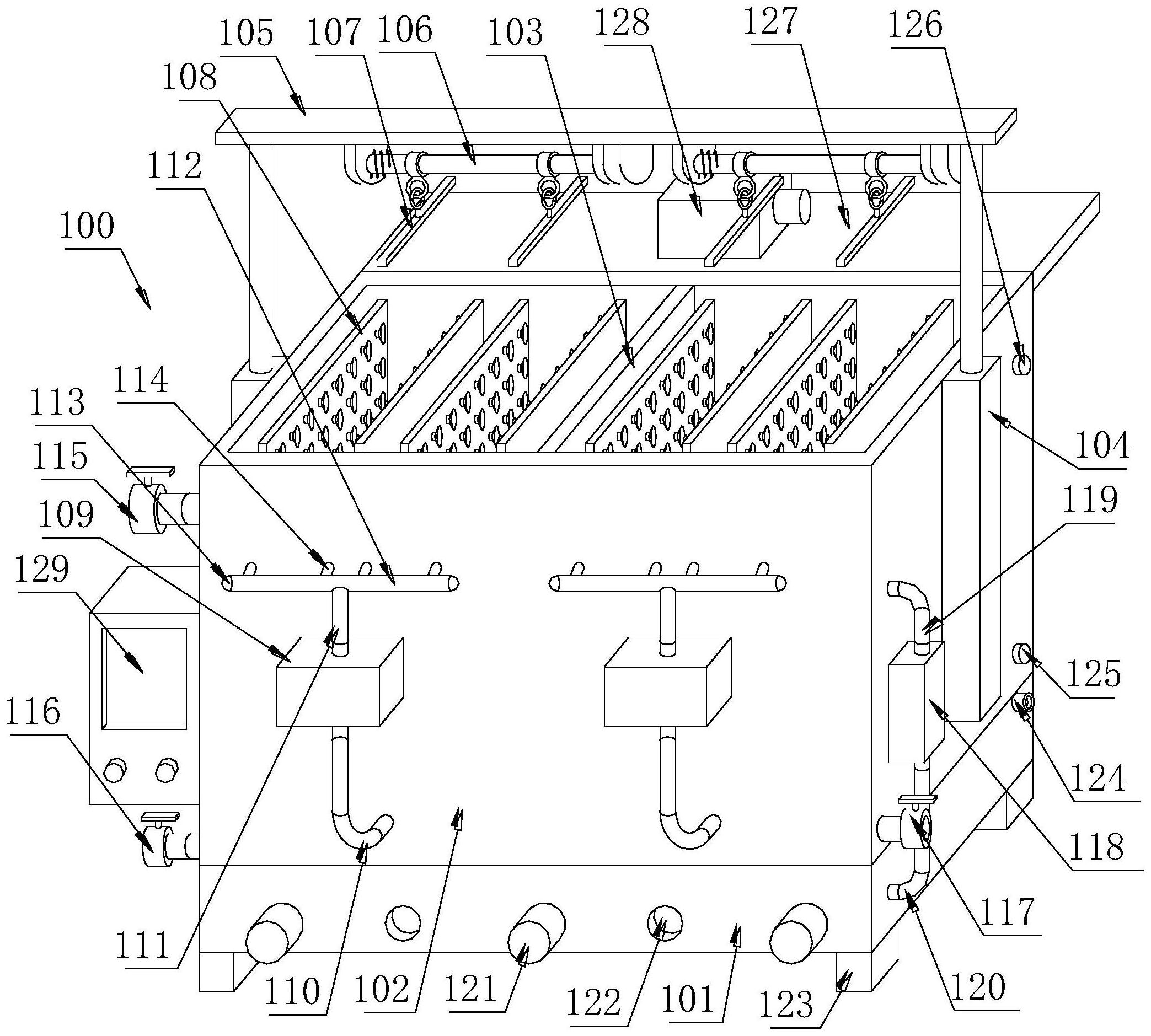
本申请公开了一种服装节能清洗装置,其包括:底箱、顶箱、隔板、升降电动推杆、顶板、服装摆动机构、衣架、清洗喷水板、第一水泵、进水管、出水管、横管、端口盖、短管、加水阀门、第一放水阀门、第二放水阀门、第二水泵、第一连管、第二连管、第一转动电机、加热棒、支撑脚、透气管、第一水位传感器、第二水位传感器、背板、抖动机构、控制柜、搅拌轴、支撑底板、第二转动电机、搅拌叶轮、登山扣、下水管和开闭阀门。本申请的有益之处在于可对衣物进行初洗和精洗,精洗后的水通过下水管可流入到底箱中,进行收集,用于初洗用水,从而实现水能的节约;衣物之间彼此分开效果较好,避免多个衣物之间出现彼此纠缠。


