授权公布号:CN216279378U
一种耐磨损的轴密封形式旋转密封装置
有效
申请
2021-11-10
申请公布
1970-01-01
授权
2022-04-12
预估到期
2031-11-10
| 申请号 | CN202122745469.6 |
| 申请日 | 2021-11-10 |
| 授权公布号 | CN216279378U |
| 授权公告日 | 2022-04-12 |
| 分类号 | F16J15/16;F16C3/02 |
| 分类 | 工程元件或部件;为产生和保持机器或设备的有效运行的一般措施;一般绝热; |
| 申请人名称 | 福建省闽旋科技股份有限公司 |
| 申请人地址 | 福建省泉州市南安市丰州镇桃源工业区莲花路1100号 |
专利法律状态
2022-04-12
授权
状态信息
授权
摘要
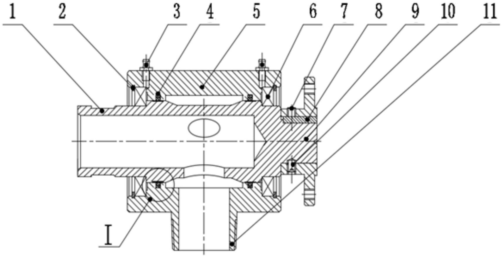
本实用新型提供了一种耐磨损的轴密封形式旋转密封装置,包括转轴;转轴外套设有壳体,转轴与壳体的两端连接处设置有轴承,轴承外侧设置有孔用弹性挡圈,壳体上侧设置有连通至轴承的直通式压力注油杯,壳体下侧设置有油口,在壳体与转轴相接触的密封表面处,壳体的一侧设置轴用旋转格莱圈,转轴一侧设置陶瓷Cr203层。本实用新型在转轴与壳体之间的密封表面处采用轴用旋转格莱圈和陶瓷Cr203层的形式,陶瓷Cr203层可以提高密封表面的硬度和光洁度,并起到自润滑的作用,增加耐磨性,减少与轴用旋转格莱圈的旋转摩擦阻力,有效地保护转轴与轴用旋转格莱圈的磨损,适用于在水、蒸汽等混合工况下使用,可以大大延长使用寿命。


