授权公布号:CN210360195U
一种弹簧内置式平面密封旋转接头快速组装设备
有效
申请
2019-05-24
申请公布
1970-01-01
授权
2020-04-21
预估到期
2029-05-24
| 申请号 | CN201920764248.3 |
| 申请日 | 2019-05-24 |
| 授权公布号 | CN210360195U |
| 授权公告日 | 2020-04-21 |
| 分类号 | B23P19/04 |
| 分类 | 机床;不包含在其他类目中的金属加工; |
| 申请人名称 | 福建省闽旋科技股份有限公司 |
| 申请人地址 | 福建省泉州市南安市丰州镇桃源工业区莲花路1100号 |
专利法律状态
2020-04-21
授权
状态信息
授权
摘要
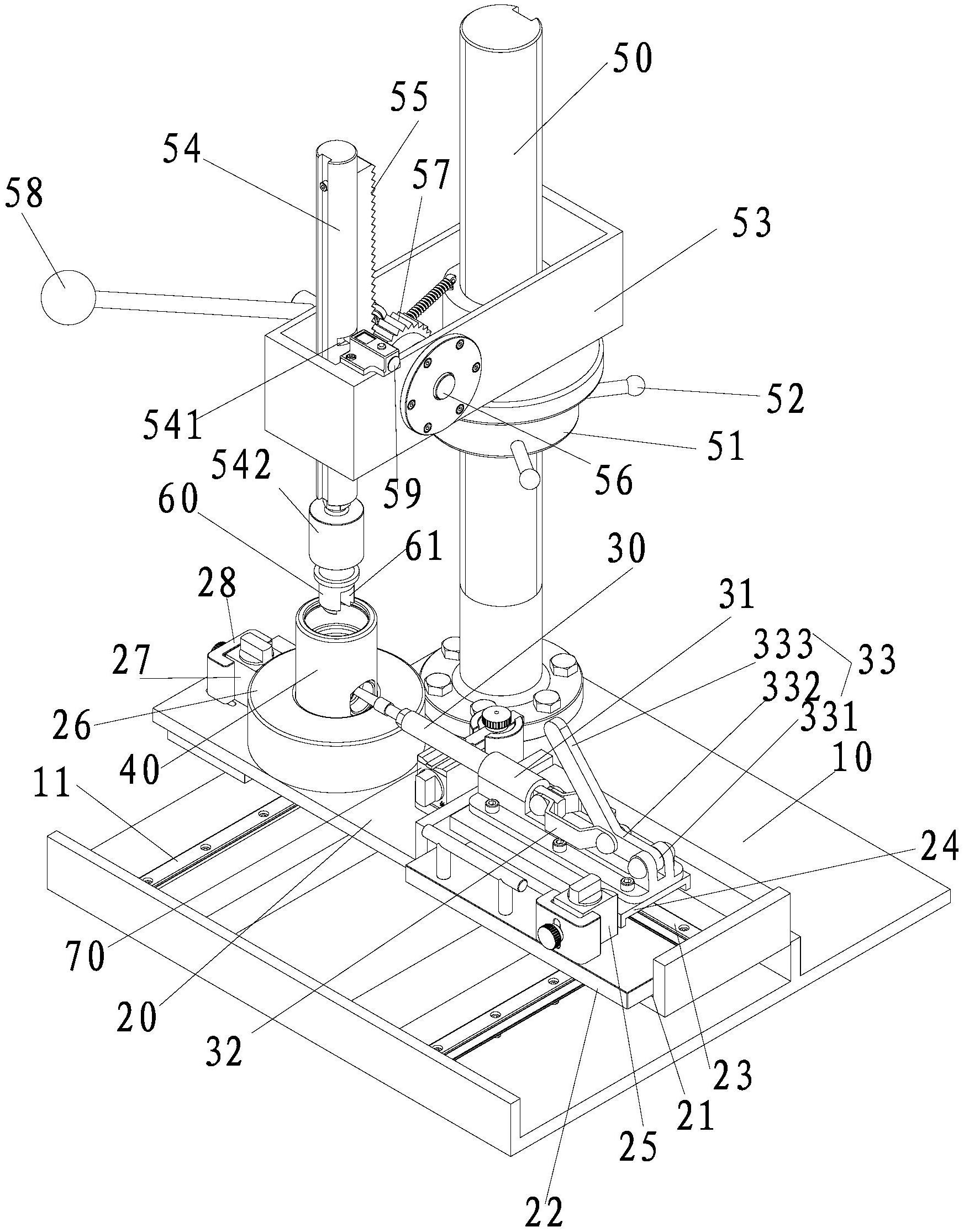
本实用新型涉及一种弹簧内置式平面密封旋转接头快速组装设备,包括用于放置旋转接头壳体的限位工装、用于伸入旋转接头壳体并对弹簧进行限位的弹簧压杆、用于带动弹簧压杆移动并定位的压杆位置调整机构、与旋转接头壳体对应的压头以及用于驱动压头上下移动的压头驱动机构,旋转接头壳体具有相互连通的第一开口和第二开口,弹簧压杆对应第二开口设置,压头设置在限位工装的上方,通过弹簧压杆能够对旋转接头壳体内的弹簧进行暂时地定位,避免弹簧对其它配件组装造成的影响,通过压头驱动机构带动压头运动,实现弹簧和其它配件的组装,相比于人工锤击,本实用新型的组装效率更好,且能够提升旋转接头的组装质量。


