授权公布号:CN210060332U
一种压头快换机构
有效
申请
2019-05-24
申请公布
1970-01-01
授权
2020-02-14
预估到期
2029-05-24
| 申请号 | CN201920764635.7 |
| 申请日 | 2019-05-24 |
| 授权公布号 | CN210060332U |
| 授权公告日 | 2020-02-14 |
| 分类号 | B23P19/02 |
| 分类 | 机床;不包含在其他类目中的金属加工; |
| 申请人名称 | 福建省闽旋科技股份有限公司 |
| 申请人地址 | 福建省泉州市南安市丰州镇桃源工业区莲花路1100号 |
专利法律状态
2020-02-14
授权
状态信息
授权
摘要
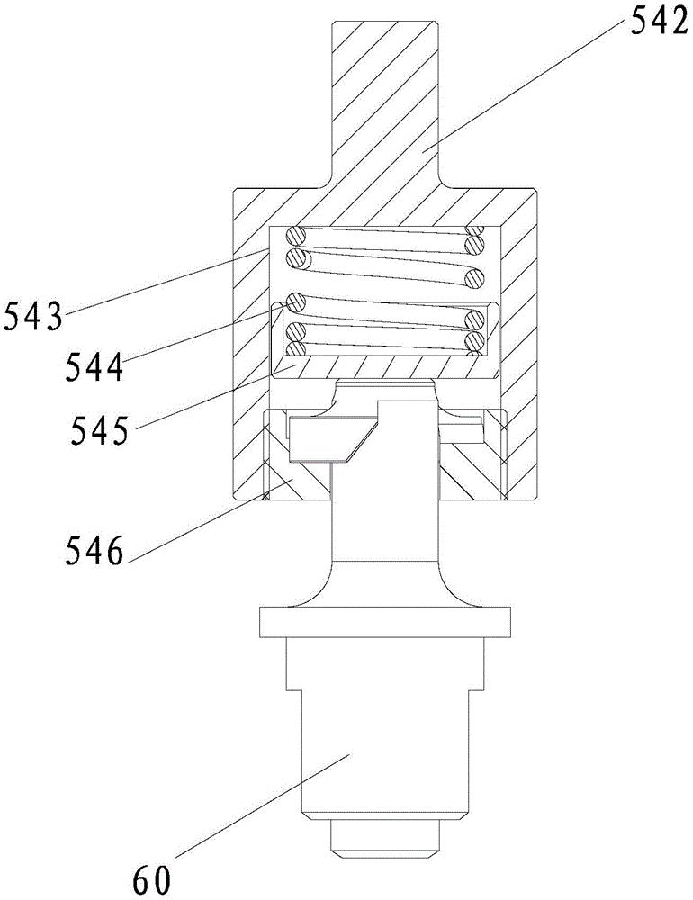
本实用新型涉及一种压头快换机构,包括连接头和压头,连接头上具有下端开口的筒部,筒部中设有顶压弹簧、弹簧定位片以及限位螺母,限位螺母螺接在筒部的内壁的下部,弹簧定位片设置在顶压弹簧与限位螺母之间,弹簧定位片活动设置在筒部内且具有用于顶压所述压头的顶压端,在压头上设有卡块,卡块上设有第一滑动斜面,在限位螺母的内壁上设有限位块,限位块上设有与第一滑动斜面配合的第二滑动斜面和与第二滑动斜面承接的卡槽,第二滑动斜面与卡槽沿所述限位螺母的周向布设,限位块与所述限位螺母的内壁围成供所述压头伸入所述限位螺母的导向入口。本实用新型中压头拆装方便,便于更换不同类型的压头,能实现快速轻松拆装。


