授权公布号:CN112872420B
一种燃气金属软管固定环钻孔设备
有效
申请
2021-02-03
申请公布
2021-06-01
授权
2022-03-22
预估到期
2041-02-03
| 申请号 | CN202110151595.0 |
| 申请日 | 2021-02-03 |
| 申请公布号 | CN112872420A |
| 申请公布日 | 2021-06-01 |
| 授权公布号 | CN112872420B |
| 授权公告日 | 2022-03-22 |
| 分类号 | B23B41/00;B23Q3/00 |
| 分类 | 机床;不包含在其他类目中的金属加工; |
| 申请人名称 | 杭州恒通金属软管有限公司 |
| 申请人地址 | 浙江省杭州市余杭区仓前街道龙泉路1号2幢三层 |
专利法律状态
2022-03-22
授权
状态信息
授权
2021-06-01
公布
状态信息
公布
摘要
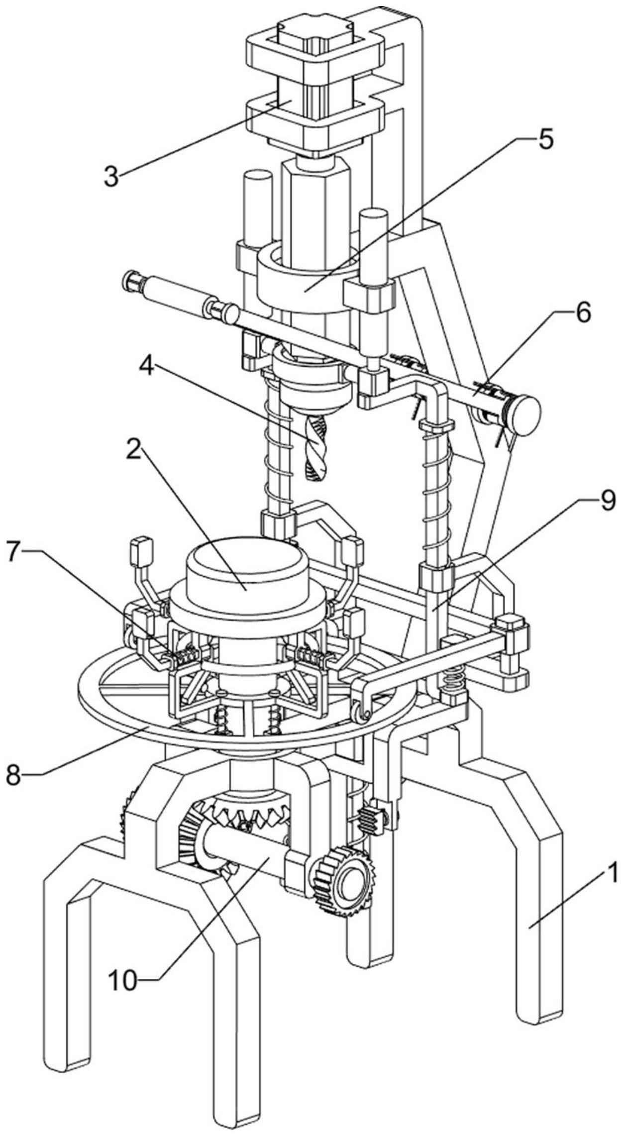
本发明公开了一种燃气金属软管固定环钻孔设备,包括有:第一支撑架;置物架,第一支撑架中部一侧转动式设有置物架;钻孔组件,第一支撑架顶部设有钻孔组件;电机钻孔组件上侧设有电机;钻头,钻孔组件底部设有钻头;下拉组件,第一支撑架中部设有下拉组件。人们将固定环放置在置物架上,然后启动电机,向下拉动握把,握把会带动第一压杆向下移动,当第一压杆与第一滑杆接触时,会带动第一滑杆和轴承向下移动,轴承会带动滑动轴和钻头向下移动,当钻头与固定环接触时,会将固定环进行钻孔工作。


