授权公布号:CN211901912U
一种抗弯折波纹金属管
有效
申请
2020-03-19
申请公布
1970-01-01
授权
2020-11-10
预估到期
2030-03-19
| 申请号 | CN202020347576.6 |
| 申请日 | 2020-03-19 |
| 授权公布号 | CN211901912U |
| 授权公告日 | 2020-11-10 |
| 分类号 | F16L11/15;B08B9/023 |
| 分类 | 工程元件或部件;为产生和保持机器或设备的有效运行的一般措施;一般绝热; |
| 申请人名称 | 杭州恒通金属软管有限公司 |
| 申请人地址 | 浙江省杭州市余杭区仓前街道龙泉路1号2幢 |
专利法律状态
2020-11-10
授权
状态信息
授权
摘要
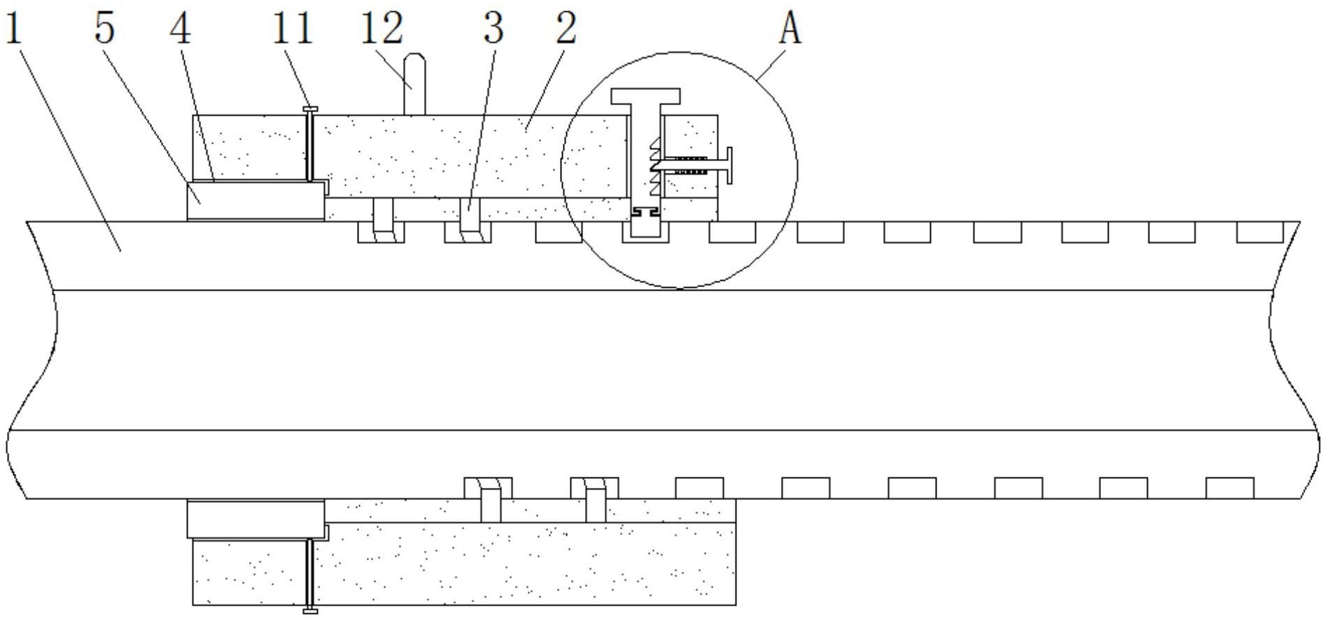
本实用新型公开了一种抗弯折波纹金属管,涉及金属管技术领域,包括波纹管,所述波纹管的表面活动套接有圆管,所述圆管的内壁固定设置有螺纹卡圈,所述螺纹卡圈的表面与波纹管褶缝的内壁活动连接,所述圆管的左侧分别开设有两个第一T形槽,两个所述第一T形槽的内壁分别与两个第一擦拭块的表面活动连接,所述第一擦拭块的下表面与波纹管的表面活动连接,所述圆管的上表面开设有方孔,所述方孔的内壁与活动板表面活动连接,所述活动板的背面开设有第二T形槽。本实用新型通过设置圆管、螺纹卡圈、第一擦拭块、活动板以及锁紧机构,解决了常用的擦拭布对波纹金属管褶缝清理非常不便,并且效果较差的问题。


