授权公布号:CN218954303U
法兰结构
有效
申请
2022-12-29
申请公布
1970-01-01
授权
2023-05-02
预估到期
2032-12-29
| 申请号 | CN202223595764.9 |
| 申请日 | 2022-12-29 |
| 授权公布号 | CN218954303U |
| 授权公告日 | 2023-05-02 |
| 分类号 | F16L33/28;F16L23/22 |
| 分类 | 工程元件或部件;为产生和保持机器或设备的有效运行的一般措施;一般绝热; |
| 申请人名称 | 江苏双腾管业有限公司 |
| 申请人地址 | 江苏省苏州市张家港市张家港保税区中油制管南、金港路东侧 |
专利法律状态
2023-05-02
授权
状态信息
授权
摘要
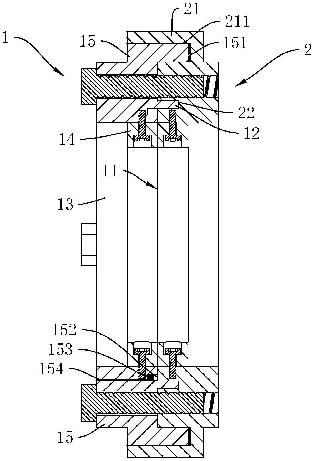
本申请公开了一种法兰结构,涉及管道对接的技术领域。一种法兰结构,包括第一法兰盘和第二法兰盘,第一法兰盘通过螺丝与第二法兰盘对接,第一法兰盘和第二法兰盘的端面上均具有圆柱状的安装腔,且每一安装腔均为贯通设置,每一安装腔内靠近对接侧均设有抵接环,抵接环为橡胶抵接环。本申请能降低物质流经壁厚较大的塑料软管与壁厚较小的钢管对接的位置时出现泄漏的可能。


