授权公布号:CN214044234U
一种电熔焊接用接插件及电熔管件
有效
申请
2020-12-23
申请公布
1970-01-01
授权
2021-08-24
预估到期
2030-12-23
| 申请号 | CN202023126567.3 |
| 申请日 | 2020-12-23 |
| 授权公布号 | CN214044234U |
| 授权公告日 | 2021-08-24 |
| 分类号 | H01R24/00;H01R13/66;H01R13/637;F16L47/03 |
| 分类 | 基本电气元件; |
| 申请人名称 | 江苏双腾管业有限公司 |
| 申请人地址 | 江苏省苏州市张家港保税区中油制管南、金港路东侧 |
专利法律状态
2021-08-24
授权
状态信息
授权
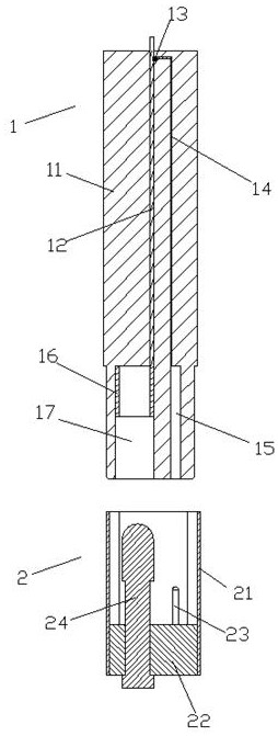
摘要
本实用新型公开了一种电熔焊接用接插件及电熔管件,包括:公头及与其插接的母头,所述公头包括壳体、极柱和接插杆,所述极柱和接插杆分别设置在壳体中,所述母头包括导电套、温度传感器以及与壳体对应的塞块,所述塞块外端面内凹设置有与极柱对应的第一插孔,所述导电套设置在第一插孔中,所述塞块端面内凹设置有与接插杆对应的第二插孔,所述第二插孔内壁上设置有导电介质,所述温度传感器与导电介质之间设置有连接线。通过上述方式,本实用新型所述的电熔焊接用接插件及电熔管件,插接便利,可以在电熔焊接时进行内部温度和压力检测,方便及时调整焊接参数,并在焊接完成时自动断电,提高了自动化程度,确保了电熔焊接的质量。


