授权公布号:CN209478799U
一种电熔管件模芯绕丝升降装置
有效
申请
2018-12-10
申请公布
1970-01-01
授权
2019-10-11
预估到期
2028-12-10
| 申请号 | CN201822064040.9 |
| 申请日 | 2018-12-10 |
| 授权公布号 | CN209478799U |
| 授权公告日 | 2019-10-11 |
| 分类号 | B29C45/14 |
| 分类 | 塑料的加工;一般处于塑性状态物质的加工; |
| 申请人名称 | 江苏双腾管业有限公司 |
| 申请人地址 | 江苏省苏州市张家港保税区中油制管南、金港路东侧 |
专利法律状态
2019-10-11
授权
状态信息
授权
摘要
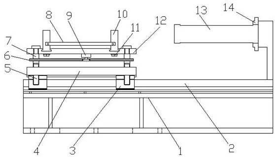
本实用新型公开了一种电熔管件模芯绕丝升降装置,包括:底架、浮动平台、滑座和定位组件,所述浮动平台位于滑座的上方,所述浮动平台上设置有数个向下延伸的转轴,所述转轴下部为贯穿滑座的螺纹轴,所述转轴上设置有链轮,数个转轴上的链轮通过链条进行联动,所述浮动平台底部设置有电机,所述电机的转轴上设置有与链条啮合的驱动轮,所述定位组件间隔设置在浮动平台上,每组定位组件包括两个相对设置的限位块,两个限位块内侧设置有斜面而形成V形结构。通过上述方式,本实用新型所述的电熔管件模芯绕丝升降装置,滑座可以推动而带动电熔管件模芯的轴向移动,并通过电机带动浮动平台的升降,减低了劳动强度,提升了操作安全性。


