授权公布号:CN215825943U
一种钢丝编织内管挤出预防偏胶校直筒
有效
申请
2020-12-30
申请公布
1970-01-01
授权
2022-02-15
预估到期
2030-12-30
| 申请号 | CN202023291497.7 |
| 申请日 | 2020-12-30 |
| 授权公布号 | CN215825943U |
| 授权公告日 | 2022-02-15 |
| 分类号 | B29C53/80 |
| 分类 | 塑料的加工;一般处于塑性状态物质的加工; |
| 申请人名称 | 河南亿博科技股份有限公司 |
| 申请人地址 | 河南省漯河市召陵区阳山路11号 |
专利法律状态
2022-02-15
授权
状态信息
授权
摘要
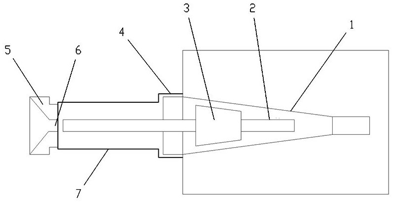
本实用新型提供了一种钢丝编织内管挤出预防偏胶校直筒,在固定块中部设有校直筒,在挤出套筒一侧设有加长筒,所述校直管套接加长筒,在加长筒远离挤出套筒一侧设有定位块,所述定位块中部设有与校直筒配合使用的定位孔,本实用新型通过固定块对校直筒进行初步定位,使校直筒保持在挤出套筒中部,校直筒较长,通过加长筒来沿长校直筒的长度,在加长筒上套接定位块,通过定位块上的定位孔对校直筒进行二次定位,在校直筒在受两个支撑部位后,能始终保持水平,并且在挤出套筒内中部,通过校直筒对芯子进行校直,使芯子保持笔直状态,本实用新型结构新颖,操作简单,用途广泛,极易推广。


