授权公布号:CN219297558U
一种炼铁高炉用的直吹管
有效
申请
2023-02-23
申请公布
1970-01-01
授权
2023-07-04
预估到期
2033-02-23
| 申请号 | CN202320291416.8 |
| 申请日 | 2023-02-23 |
| 授权公布号 | CN219297558U |
| 授权公告日 | 2023-07-04 |
| 分类号 | C21B7/16;C21B7/10 |
| 分类 | 铁的冶金; |
| 申请人名称 | 石家庄巨力科技股份有限公司 |
| 申请人地址 | 河北省石家庄市赵县新寨店工业园区 |
专利法律状态
2023-07-04
授权
状态信息
授权
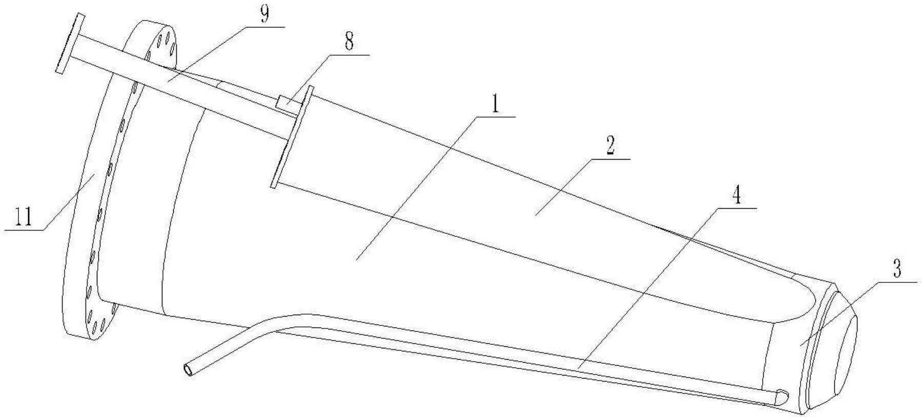
摘要
本实用新型公开了一种炼铁高炉用的直吹管,包括直吹管壳体、煤枪管壳体、和冷却装置,所述煤枪管壳体设置于直吹管壳体的外侧,所述直吹管壳体的出气端还设有球头;所述冷却装置包括进水管、冷却腔和回水腔,所述进水管设置于直吹管壳体的外侧,所述冷却腔设置于球头的内部,用于对球头的冷却,所述回水腔位于煤枪管壳体的内侧,用于对煤枪管壳体的冷却,所述进水管、冷却腔和回水腔相互连通。本实用新型冷却水依次通过进水管、冷却腔和回水腔并最终从回水腔排出,冷却水可同时对球头和煤枪管壳体进行冷却,防止球头变形或者煤枪管壳体烧穿,冷却效果更好,能够有效延长直吹管的使用寿命。


