授权公布号:CN218486721U
一种石英砂清洗设备
有效
申请
2022-10-21
申请公布
1970-01-01
授权
2023-02-17
预估到期
2032-10-21
| 申请号 | CN202222779930.4 |
| 申请日 | 2022-10-21 |
| 授权公布号 | CN218486721U |
| 授权公告日 | 2023-02-17 |
| 分类号 | B08B3/10;B08B3/02;B08B3/14 |
| 分类 | 清洁; |
| 申请人名称 | 河南天祥新材料股份有限公司 |
| 申请人地址 | 河南省郑州市巩义市竹林镇张沟村 |
专利法律状态
2023-02-17
授权
状态信息
授权
摘要
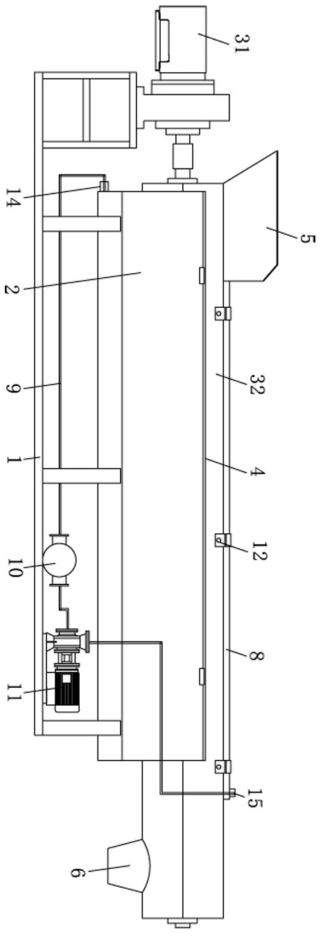
本实用新型涉及一种石英砂清洗设备,包括底座、水洗槽、螺旋输送机和水洗单元,底座上方设置用于盛水的所述水洗槽,水洗槽上方设置螺旋输送机;螺旋输送机包括减速机、U型机壳和螺旋叶片,U型机壳后端伸出水洗槽向外延伸,U型机壳后端连通有出料口,U型机壳底部两侧设置有由网板制成的透水板以连通水洗槽;水洗单元包括冲洗管、水管、过滤器和水泵,冲洗管盘布在U型机壳上方,冲洗管两侧开设有冲洗口,冲洗口倾斜朝向U型机壳内;所述过滤器和水泵均置于底座上,水管依次连通水洗槽、过滤器、水泵和冲洗管。本实用新型可大大提高对石英砂的清洗效果,同时实现水资源的循环利用,降低了耗水量。


