授权公布号:CN108284046B
一种间隔式木板涂胶水装置
有效
申请
2018-03-30
申请公布
2018-07-17
授权
2020-06-05
预估到期
2038-03-30
| 申请号 | CN201810293254.5 |
| 申请日 | 2018-03-30 |
| 申请公布号 | CN108284046A |
| 申请公布日 | 2018-07-17 |
| 授权公布号 | CN108284046B |
| 授权公告日 | 2020-06-05 |
| 分类号 | B05C9/08 |
| 分类 | 一般喷射或雾化;对表面涂覆液体或其他流体的一般方法〔2〕; |
| 申请人名称 | 浙江范优奇家具制造有限公司 |
| 申请人地址 | 浙江省杭州市余杭区塘栖镇莫家桥村 |
专利法律状态
2020-06-05
授权
状态信息
授权
2020-06-02
专利申请权、专利权的转移
状态信息
专利申请权的转移 IPC(主分类):B05C9/08 登记生效日:20200513 变更前申请人:朱加莲 变更前地址:325300 浙江省温州市文成县南田镇十源村 变更后申请人:浙江范优奇家具制造有限公司 变更后地址:310000 浙江省杭州市余杭区塘栖镇莫家桥村
2018-08-10
实质审查的生效
状态信息
实质审查的生效IPC(主分类):B05C 9/08
2018-07-17
公布
状态信息
公布
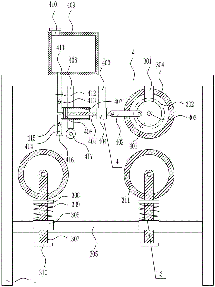
摘要
本发明涉及一种工程机械装置,尤其涉及一种间隔式木板涂胶水装置。本发明要解决的技术问题是提供一种能够自动对木板表面进行喷涂、喷涂均匀、耗费时间短的间隔式木板涂胶水装置。为了解决上述技术问题,本发明提供了这样一种间隔式木板涂胶水装置,包括有支腿等;左右侧支腿顶部设有连接板,连接板上安装有传送机构,连接板顶部安装有涂胶水机构。本发明通过传送机构和涂胶水机构的相互配合,对木板表面进行胶水的喷涂,同时利用挤压机构的优化,达到了能够自动对木板表面进行喷涂、喷涂均匀、耗费时间短的效果。


