授权公布号:CN208639880U
一种办公用品存放架
失效
申请
2018-02-11
申请公布
1970-01-01
授权
2019-03-26
预估到期
2028-02-11
| 申请号 | CN201820244997.9 |
| 申请日 | 2018-02-11 |
| 授权公布号 | CN208639880U |
| 授权公告日 | 2019-03-26 |
| 分类号 | A47B49/00;A47B63/00;A47B88/40;A47B97/00 |
| 分类 | 家具;家庭用的物品或设备;咖啡磨;香料磨;一般吸尘器; |
| 申请人名称 | 浙江范优奇家具制造有限公司 |
| 申请人地址 | 浙江省杭州市余杭区塘栖镇莫家桥村 |
专利法律状态
2024-02-20
专利权的终止
状态信息
未缴年费专利权终止;IPC(主分类):A47B49/00;申请日:20180211;授权公告日:20190326
2019-08-16
专利权人的姓名或者名称、地址的变更
状态信息
专利权人的姓名或者名称、地址的变更;IPC(主分类):A47B49/00;变更事项:专利权人;变更前:杭州范优奇家具制造有限公司;变更后:浙江范优奇家具制造有限公司;变更事项:地址;变更前:311100 浙江省杭州市余杭区塘栖镇莫家桥村;变更后:311100 浙江省杭州市余杭区塘栖镇莫家桥村
2019-03-26
授权
状态信息
授权
摘要
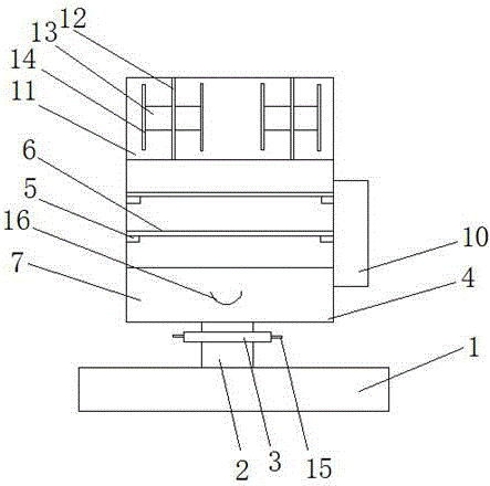
本实用新型涉及一种办公用品存放架,包括固定底座,所述固定底座顶部固定设有螺纹支撑柱,所述螺纹支撑柱外侧螺纹连接有锁紧螺母,所述锁紧螺母上方设有物品盛放柜,且所述物品盛放柜通过转轴固定设置在螺纹支撑柱顶部,所述物品盛放柜内腔水平等距设有若干隔板,所述隔板底部两侧对称设有支撑凸起,且所述支撑凸起固定设置在物品盛放柜内腔两侧,所述支撑凸起下方设有抽屉,所述抽屉底部通过转轴连接有滑轮,所述滑轮底部设有滑道,且所述滑道固定设置在物品盛放柜内腔两侧,所述物品盛放柜顶部固定设有文件柜,所述文件柜内腔等距设有若干固定板,所述固定板两侧对称设有弹簧柱,能够实现对办公用品的存放。


