授权公布号:CN212533770U
一种桥梁结构胶用灌缝设备
有效
申请
2020-03-02
申请公布
1970-01-01
授权
2021-02-12
预估到期
2030-03-02
| 申请号 | CN202020236990.X |
| 申请日 | 2020-03-02 |
| 授权公布号 | CN212533770U |
| 授权公告日 | 2021-02-12 |
| 分类号 | E01D22/00 |
| 分类 | 道路、铁路或桥梁的建筑; |
| 申请人名称 | 大连凯华新技术工程有限公司 |
| 申请人地址 | 辽宁省大连市长兴岛经济区马咀路76号 |
专利法律状态
2021-02-12
授权
状态信息
授权
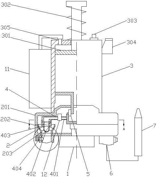
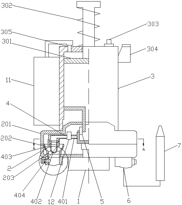
摘要
一种桥梁结构胶用灌缝设备,属于建筑机械技术领域。为了能够保证多个注胶点的注胶压力均衡,在圆饼型的分配器中安装了星型的摆杆机构,三根摆杆对应不同的注胶孔,每一根摆杆内均有导胶槽和球形销,摆杆转动时,球形销在环形滑道的约束下收缩在喷口套管内,当进入注胶孔时球形销在弹簧的作用下向下伸出,喷射孔与注胶孔导通,此时,在压缩空气的作用下,胶桶内的活塞将胶液通过导管压入分配器中,再由分配器分配至不同的导流管路中,同时,在分配器的每一个注胶口处安装稳压器,当裂缝内灌满胶液时,胶管内的灌注压力会上升,胶液推动滑阀靠近接近开关,接近开关发出信号控制继电器通电使得埋设在导胶槽内的电磁阀关断,相应的灌胶通道关闭。


