授权公布号:CN217248320U
一种高强单组份环氧结构胶生产用混料装置
有效
申请
2022-03-23
申请公布
1970-01-01
授权
2022-08-23
预估到期
2032-03-23
| 申请号 | CN202220661475.5 |
| 申请日 | 2022-03-23 |
| 授权公布号 | CN217248320U |
| 授权公告日 | 2022-08-23 |
| 分类号 | B01F27/90;B01F27/85;B01F35/31 |
| 分类 | 一般的物理或化学的方法或装置; |
| 申请人名称 | 大连凯华新技术工程有限公司 |
| 申请人地址 | 辽宁省大连市长兴岛经济区马咀路76号 |
专利法律状态
2022-08-23
授权
状态信息
授权
摘要
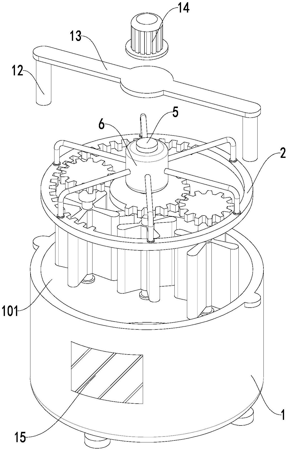
本实用新型公开了一种高强单组份环氧结构胶生产用混料装置,包括箱体,所述箱体上表面中心开设有凹槽,所述凹槽侧表面上端固定连接有半齿圈,所述半齿圈中心处设置有中心半齿轮,所述中心半齿轮上表面中心固定连接有连接杆一,所述连接杆一表面固定套接有套杆,所述套杆侧表面均匀固定连接有多组固定杆,多组所述固定杆下端固定连接于半齿圈上表面,所述中心半齿轮与半齿圈之间横向对称啮合连接有两个从动齿轮,两个所述从动齿轮下表面中心固定连接有连接杆二,所述连接杆二下端旋转连接于凹槽底面。本实用新型中,两组搅板以不同的速率进行混料,转动速率周期性改变,混料效果更好,效率更高。


