授权公布号:CN204266805U
一种实木中悬窗
有效
申请
2014-11-29
申请公布
1970-01-01
授权
2015-04-15
预估到期
2024-11-29
| 申请号 | CN201420729973.4 |
| 申请日 | 2014-11-29 |
| 授权公布号 | CN204266805U |
| 授权公告日 | 2015-04-15 |
| 分类号 | E06B3/40;E06B7/16;E05D15/02 |
| 分类 | 一般门、窗、百叶窗或卷辊遮帘;梯子; |
| 申请人名称 | 高碑店顺达墨瑟门窗有限公司 |
| 申请人地址 | 河北省保定市高碑店东方路1号门窗科技大厦 |
专利法律状态
2015-04-15
授权
状态信息
授权
摘要
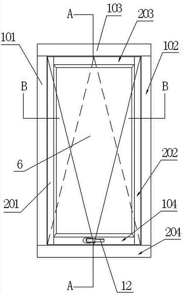
本实用新型公开了一种实木中悬窗,在没有执手的三面窗框和扇框之间留有五金槽口A和B,在有执手的窗框内侧有斜坡,在有执手的扇框上外侧有五金槽口C;在两相对的窗框的五金槽口A内固定有滑轨;在五金槽口C内安装锁闭用执手,相对应的窗框的斜坡上安装锁块;支撑杆一端固定在与有滑轨的两窗框相对应的两扇框远离执手的一端部,另一端可滑动地卡接在滑轨内;传动杆一端铰接在支撑杆的中间位置,另一端固定在滑轨一端;扇框在与窗框的搭接位置固定有密封胶条。本实用新型窗扇开启后完全悬在室内,避免了窗扇发生室外掉落砸伤行人的现象的发生,且清洁窗扇方便,快捷,安全。


