授权公布号:CN212534761U
一种方便维修检修装置
有效
申请
2020-06-02
申请公布
1970-01-01
授权
2021-02-12
预估到期
2030-06-02
| 申请号 | CN202020989343.6 |
| 申请日 | 2020-06-02 |
| 授权公布号 | CN212534761U |
| 授权公告日 | 2021-02-12 |
| 分类号 | E04B9/00; |
| 分类 | 建筑物; |
| 申请人名称 | 北京米兰之窗节能建材有限公司 |
| 申请人地址 | 北京市昌平区百善镇孟祖村570号 |
专利法律状态
2021-02-12
授权
状态信息
授权
摘要
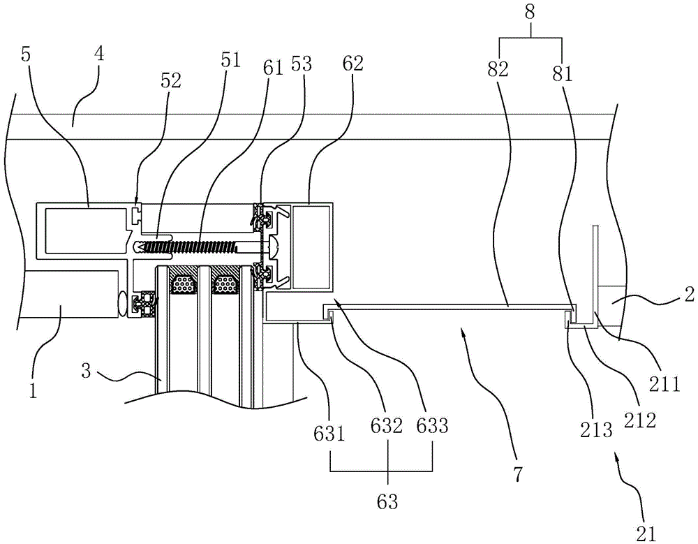
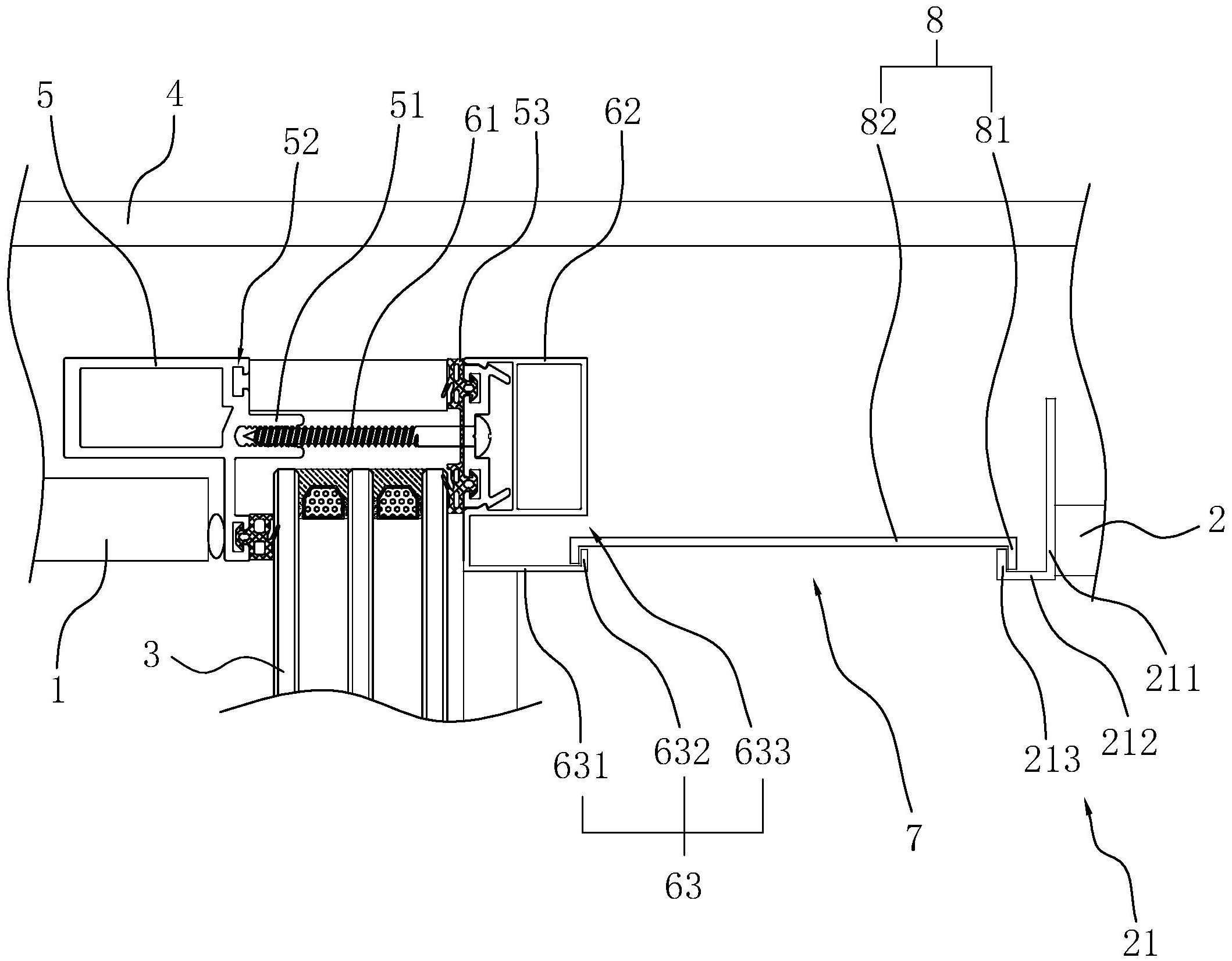
本实用新型涉及一种方便维修检修装置,属于建筑装饰装修的技术领域,设置在玻璃与室外吊顶之间,所述玻璃的外侧顶部设置有室外铝材,所述室外铝材包括上方的连接部与下方的支撑部,所述支撑部包括第一支撑板,所述第一支撑板邻近室外铝材的端部固定连接有竖直向上设置的第一挡板,所述室外吊顶邻近玻璃的侧壁上固定连接有支撑架,所述室外铝材与支撑架之间通过盖板进行连接,所述盖板的两侧分别固定连接有与第一支撑板和支撑架相搭接的卡接板,所述第一挡板与连接部之间形成能够满足卡接板与之脱离的插接孔。本实用新型具有在维修时不需将整块吊顶拆除,便于检修的效果。


