授权公布号:CN211230025U
一种隐扇式下悬推拉窗
有效
申请
2019-12-13
申请公布
1970-01-01
授权
2020-08-11
预估到期
2029-12-13
| 申请号 | CN201922263139.6 |
| 申请日 | 2019-12-13 |
| 授权公布号 | CN211230025U |
| 授权公告日 | 2020-08-11 |
| 分类号 | E06B3/263 |
| 分类 | 一般门、窗、百叶窗或卷辊遮帘;梯子; |
| 申请人名称 | 北京米兰之窗节能建材有限公司 |
| 申请人地址 | 北京市昌平区百善镇孟祖村570号 |
专利法律状态
2020-08-11
授权
状态信息
授权
摘要
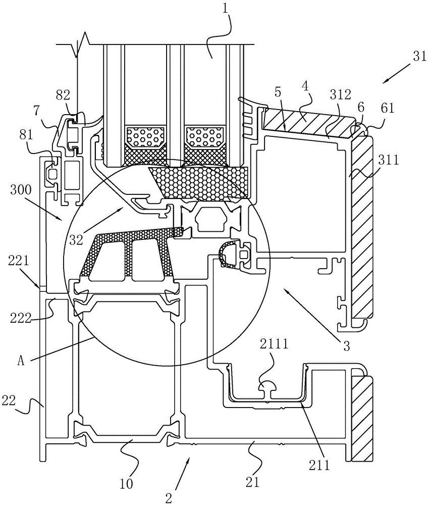
本实用新型涉及一种隐扇式下悬推拉窗,属于推拉窗技术领域,包括玻璃板、窗框和窗扇,所述窗扇安装在窗框上,所述玻璃板安装在窗扇上,所述窗框包括第一断桥框和第二断桥框,所述窗扇包括第一断桥扇和第二断桥扇;所述第一断桥扇和第一断桥框上均设置有装饰板。在第一断桥扇和第二断桥框上设置装饰板,避免直接显露出银白色的铝合金型材,且装饰板与室内木质家具更加匹配,有效地提高整体的装饰性和美观性;同时由于铝合金良好的导热性能容易造成了室内外热量的快速传导,使得房屋建筑的保温性能受到影响;而装饰板的设置,有效地起到隔热的效果,减小室内外的热交换,起到节能保温的效果。


