授权公布号:CN218641614U
一种盛水容器
有效
申请
2022-11-23
申请公布
1970-01-01
授权
2023-03-17
预估到期
2032-11-23
| 申请号 | CN202223116721.8 |
| 申请日 | 2022-11-23 |
| 授权公布号 | CN218641614U |
| 授权公告日 | 2023-03-17 |
| 分类号 | B65D90/48;B65D85/72;G01F23/22;G01F1/28 |
| 分类 | 输送;包装;贮存;搬运薄的或细丝状材料; |
| 申请人名称 | 上海思乐得不锈钢制品有限公司 |
| 申请人地址 | 上海市浦东新区新金桥路18号民航大厦1701室 |
专利法律状态
2023-03-17
授权
状态信息
授权
摘要
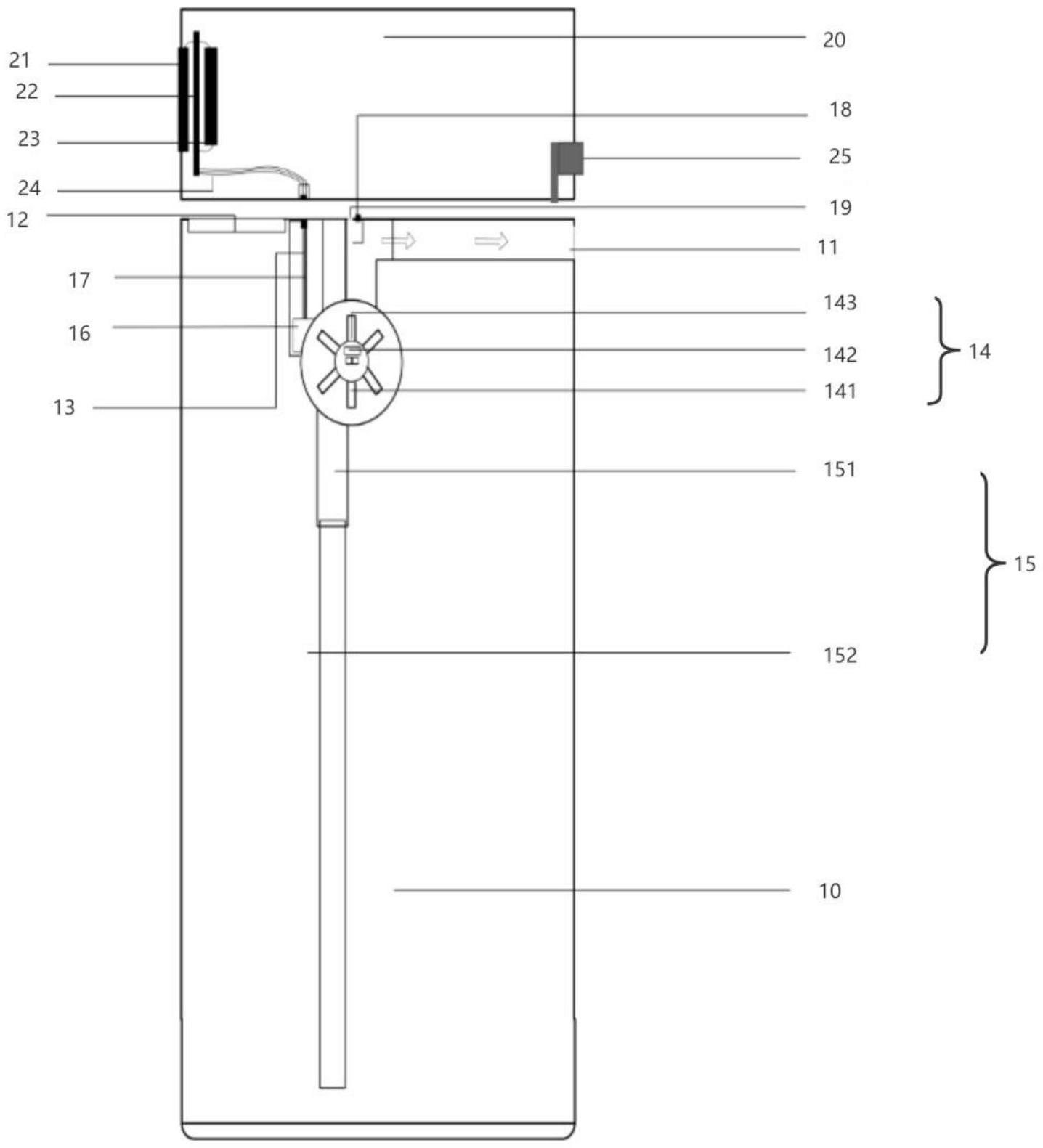
本申请提供了一种盛水容器,盛水容器包括容器本体和容器上组件;容器上组件可安装于容器本体上形成密闭盛水容器,容器本体的一侧设置有出水口,容器本体的另一侧设置有进水口;容器本体的顶部设置有端子接口,出水口的底部与叶轮传感器连接,叶轮传感器的底部和传感器入水管道连接,传感器入水管道和容器本体的底部间隔预设距离垂直设置;叶轮传感器和信息传输元件连接,信息传输元件与端子接口连接;信息传输元件可通过端子接口向容器上组件传输从叶轮传感器接收的液位信息;容器上组件设置有电子显屏以显示液位信息。本申请提供的方案,可以自动检测水位,满足用户对智能盛水容器的使用需求。


