授权公布号:CN217499085U
一种耐寒安全玻璃夹胶的生产设备
有效
申请
2022-03-03
申请公布
1970-01-01
授权
2022-09-27
预估到期
2032-03-03
| 申请号 | CN202220453604.1 |
| 申请日 | 2022-03-03 |
| 授权公布号 | CN217499085U |
| 授权公告日 | 2022-09-27 |
| 分类号 | C03C27/12 |
| 分类 | 玻璃;矿棉或渣棉; |
| 申请人名称 | 威盾工程建材(天津)有限公司 |
| 申请人地址 | 天津市北辰区双辰中路11号 |
专利法律状态
2022-09-27
授权
状态信息
授权
摘要
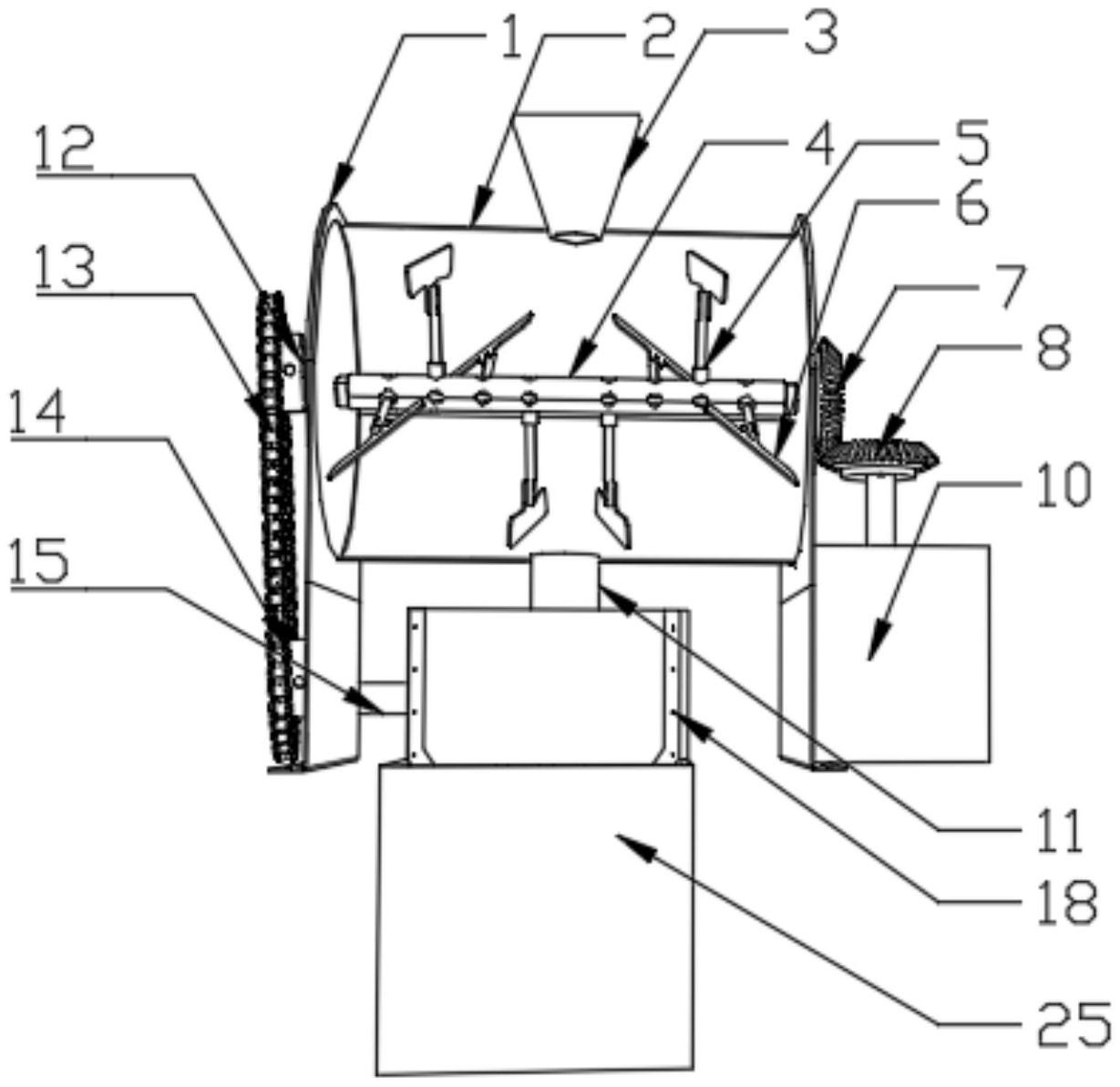
本实用新型公开了一种耐寒安全玻璃夹胶的生产设备,包括机体,机体中间设有机箱,机箱上设有进胶管,机箱内部设有搅拌机构,搅拌机构包括主动轴、锥齿轮一、锥齿轮二与电机,主动轴位于机箱内部,且主动轴上设有若干搅拌杆,搅拌杆末端连接有搅拌叶,搅拌叶与机箱靠近但并不接触,主动轴两端延伸至机箱外部,主动轴一侧固定连接有锥齿轮一,锥齿轮一下方设有与其相啮合的锥齿轮二,锥齿轮二下方设有电机,且锥齿轮二固定在电机的输出端上,电机位于空箱内。有益效果:有效地搅拌生产玻璃夹胶原料,使得原料质地均匀,能自主输送夹胶,减少电气设备,节省成本,保证玻璃夹胶的质量。


