授权公布号:CN219378241U
一种色谱样品瓶清洁装置
有效
申请
2023-04-07
申请公布
1970-01-01
授权
2023-07-21
预估到期
2033-04-07
| 申请号 | CN202320763864.3 |
| 申请日 | 2023-04-07 |
| 授权公布号 | CN219378241U |
| 授权公告日 | 2023-07-21 |
| 分类号 | B08B3/12;B08B13/00 |
| 分类 | 清洁; |
| 申请人名称 | 纽斯葆广赛(广东)生物科技股份有限公司 |
| 申请人地址 | 广东省广州市从化区明珠工业园兴业路1号 |
专利法律状态
2023-07-21
授权
状态信息
授权
摘要
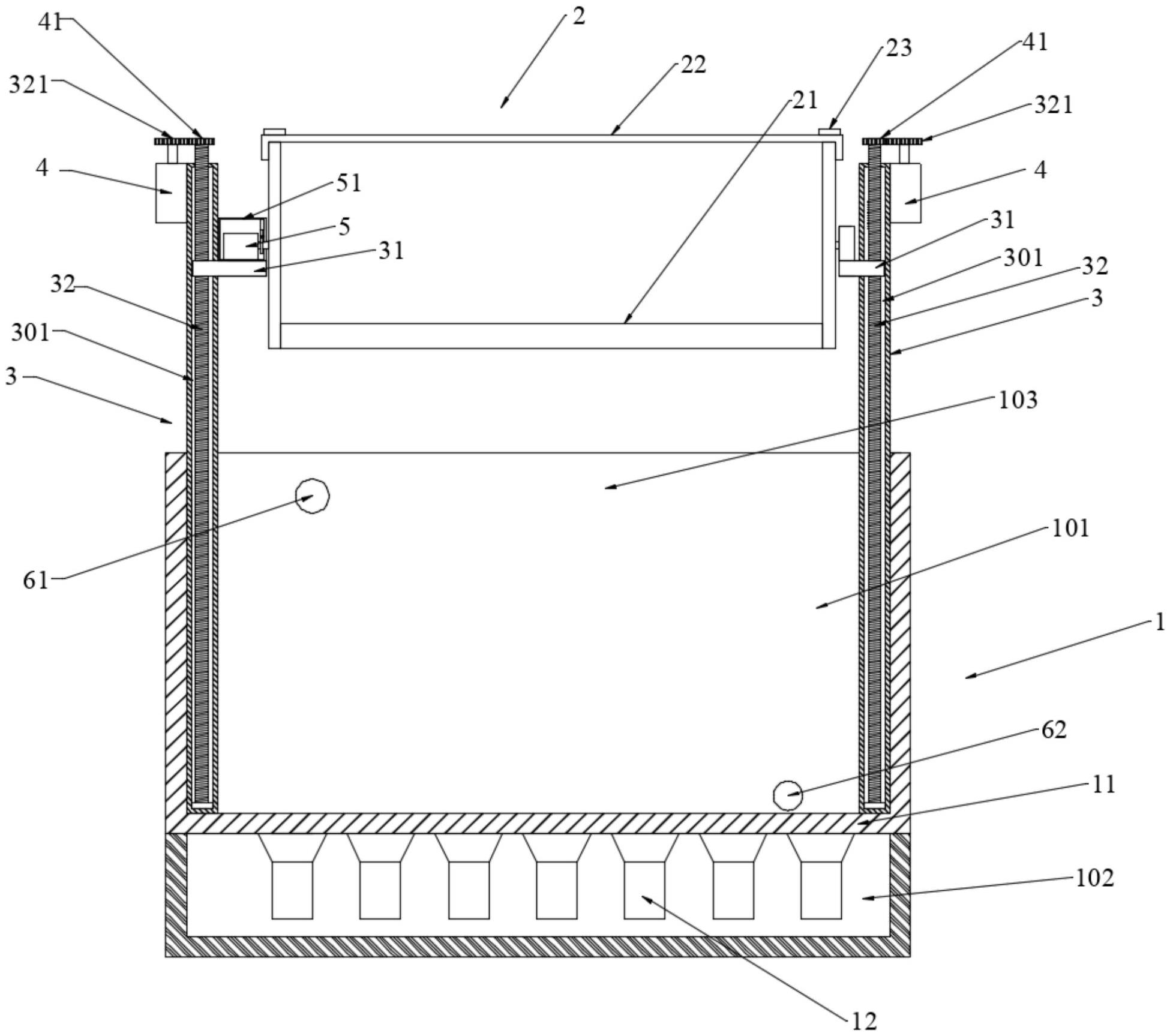
本实用新型涉及实验用具技术领域,尤其是一种色谱样品瓶清洁装置,包括清洁箱及瓶架,所述清洁箱通过隔板分为上下方向的清洁腔及放置腔,所述清洁箱一面设有与所述清洁腔连通的箱口,所述放置腔内设有超声波换能器;所述清洁腔的两侧分别设有滑轨,且所述滑轨通过所述箱口延伸至所述清洁腔外,所述瓶架设于两所述滑轨之间,且所述瓶架通过第一电机驱动,以使所述瓶架能够沿着所述滑轨移动,且所述瓶架通过所述箱口移动至所述清洁腔内。本实用新型的一种色谱样品瓶清洁装置,能够批量对样品瓶的内、外壁进行有效清洗,提高样品瓶的清洗质量和清洗效率。


