授权公布号:CN217598869U
一种粉剂分装装置
有效
申请
2022-06-24
申请公布
1970-01-01
授权
2022-10-18
预估到期
2032-06-24
| 申请号 | CN202221613780.3 |
| 申请日 | 2022-06-24 |
| 授权公布号 | CN217598869U |
| 授权公告日 | 2022-10-18 |
| 分类号 | B65B1/06;B65B43/52;B65B1/32 |
| 分类 | 输送;包装;贮存;搬运薄的或细丝状材料; |
| 申请人名称 | 纽斯葆广赛(广东)生物科技股份有限公司 |
| 申请人地址 | 广东省广州市从化区明珠工业园兴业路1号 |
专利法律状态
2022-10-18
授权
状态信息
授权
摘要
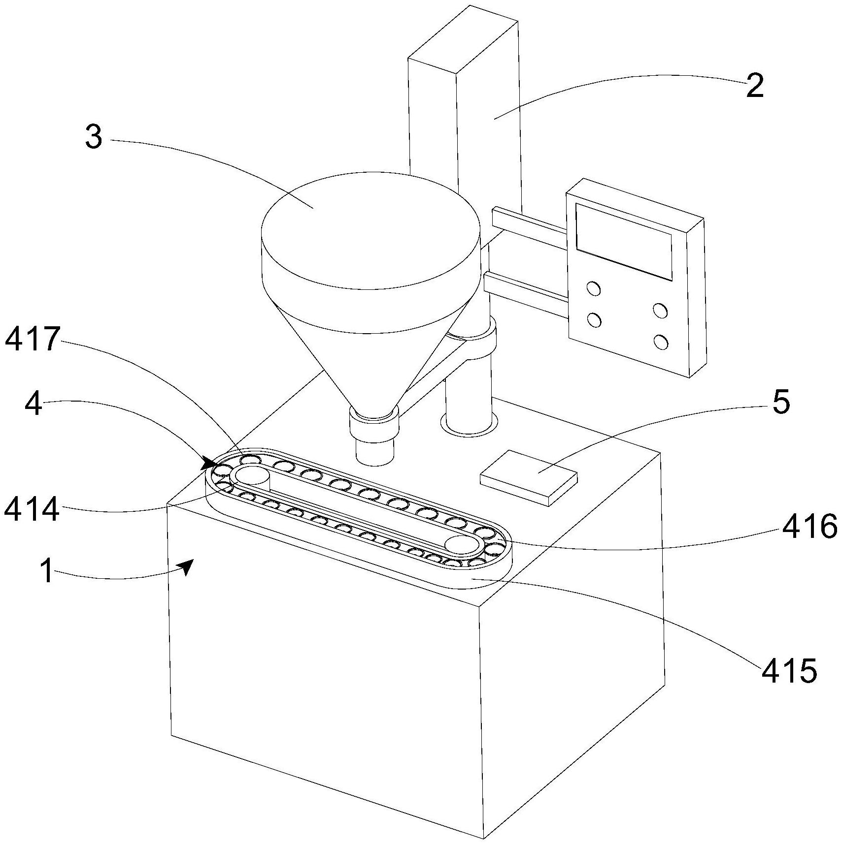
本实用新型提供一种粉剂分装装置,包括分装平台、分料驱动组件、分料斗及瓶罐传送组件,分料驱动组件装设于分装平台上,分料斗与分料驱动组件连接,瓶罐传送组件包括驱动件及瓶罐限位件,驱动件装设于分装平台上,瓶罐限位件包括传动圈及弹性限位套,传动圈与驱动件连接,驱动件能够驱动传动圈移动至与分料斗对应,弹性限位套贯穿设有一限位空间,以在弹性限位套的相对两端分别形成一插入口及一限位口,弹性限位套对应插入口的一端与传动圈连接,限位空间的孔径沿远离传动圈的方向逐渐减小,其能够确保罐体或者杯体及时传送到分装斗下方。


