授权公布号:CN216005149U
一种自动压盖机
有效
申请
2021-07-27
申请公布
1970-01-01
授权
2022-03-11
预估到期
2031-07-27
| 申请号 | CN202121722207.1 |
| 申请日 | 2021-07-27 |
| 授权公布号 | CN216005149U |
| 授权公告日 | 2022-03-11 |
| 分类号 | B67B3/10;B65B7/28 |
| 分类 | 开启或封闭瓶子、罐或类似的容器;液体的贮运; |
| 申请人名称 | 纽斯葆广赛(广东)生物科技股份有限公司 |
| 申请人地址 | 广东省广州市从化区明珠工业园兴业路一号 |
专利法律状态
2022-03-11
授权
状态信息
授权
摘要
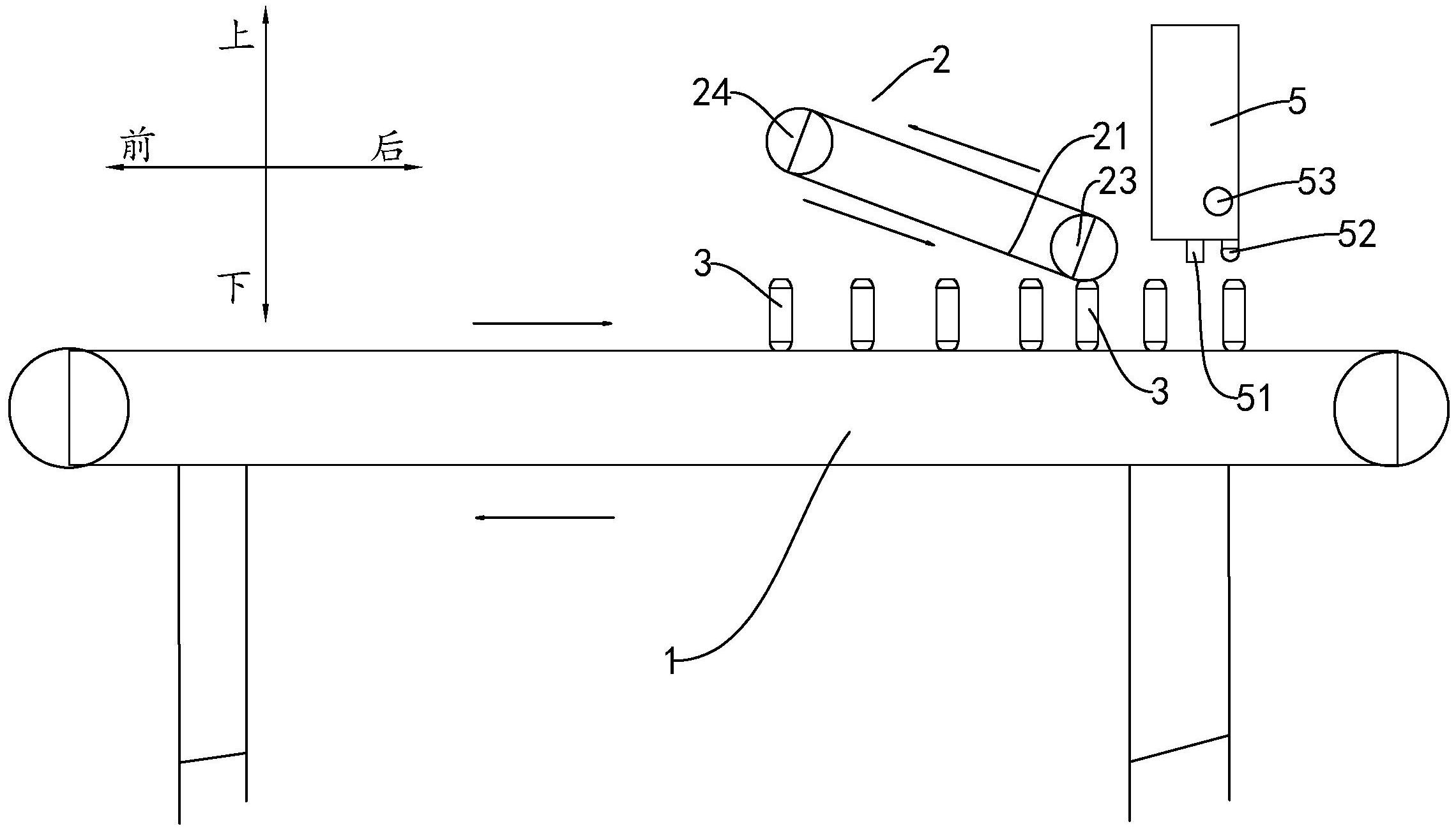
本实用新型公开了一种自动压盖机,物料输送装置用于从前往后输送包装瓶;皮带传送装置设置于物料输送装置的顶部,并沿前往后向下倾斜,第一辊轴的底端低于第二辊轴,第一辊轴和皮带传送装置之间形成挤压空间,传送带于挤压空间处具有向后的线速度,包装瓶经过挤压空间时,传送带能够向下挤压瓶盖,以使瓶盖贴合于瓶身。该技术方案利用皮带传送装置和传送带在挤压空间处同时给予包装瓶向后输送的动力,使得包装瓶稳步向后输送的同时实现封盖操作,以使瓶盖贴合于瓶身,而无需工作人员手动按压瓶盖,操作省力,且在运输的同时即可对包装瓶进行封盖,封盖效率极高,生产效率提高。


