授权公布号:CN108207750B
一种水族箱
有效
申请
2018-02-06
申请公布
2018-06-29
授权
2024-02-09
预估到期
2038-02-06
| 申请号 | CN201810117770.2 |
| 申请日 | 2018-02-06 |
| 申请公布号 | CN108207750A |
| 申请公布日 | 2018-06-29 |
| 授权公布号 | CN108207750B |
| 授权公告日 | 2024-02-09 |
| 分类号 | A01K63/00;A01K63/04 |
| 分类 | 农业;林业;畜牧业;狩猎;诱捕;捕鱼; |
| 申请人名称 | 广东博宇集团有限公司 |
| 申请人地址 | 广东省潮州市饶平县黄冈镇步上路25号 |
专利法律状态
2024-02-09
授权
状态信息
授权
2018-07-24
实质审查的生效
状态信息
实质审查的生效;IPC(主分类):A01K63/00;申请日:20180206
2018-06-29
公布
状态信息
公布
摘要
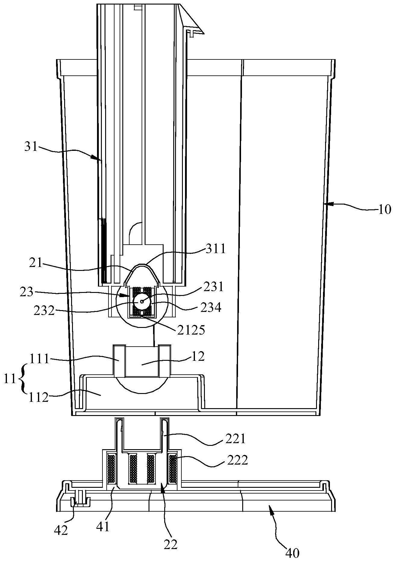
本发明公开一种水族箱,包括箱体、水泵和设置在所述箱体内部的用电设备,水泵包括泵壳、定子、安装于泵壳内的转子组件和叶轮,定子的U型铁芯具有凸出于其线圈绕组的两个铁芯凸部,箱体的外壁朝向箱体内部凹设有定子容纳室,定子容纳室具有两个间隔设置的第一容纳室,铁芯凸部位于第一容纳室内,箱体的内壁且位于两个第一容纳室之间形成容纳槽,转子组件包括转轴、永磁转子和发电感应线圈,叶轮通过转轴与位于容纳槽内的永磁转子固定连接,发电感应线圈绕设在永磁转子外并与用电设备连接,永磁转子可相对发电感应线圈转动。本发明中,水泵工作时可对用电设备供电,避免单独使用供电设备对箱内的用电设备供电时出现漏电等安全隐患。


