授权公布号:CN204014775U
一种用于水族箱的PVC型材底柜结构
有效
申请
2014-08-14
申请公布
1970-01-01
授权
2014-12-17
预估到期
2024-08-14
| 申请号 | CN201420456313.3 |
| 申请日 | 2014-08-14 |
| 授权公布号 | CN204014775U |
| 授权公告日 | 2014-12-17 |
| 分类号 | A01K63/00 |
| 分类 | 农业;林业;畜牧业;狩猎;诱捕;捕鱼; |
| 申请人名称 | 河北亮点水族科技有限公司 |
| 申请人地址 | 河北省保定市徐水县大王店工业园 |
专利法律状态
2014-12-17
授权
状态信息
授权
摘要
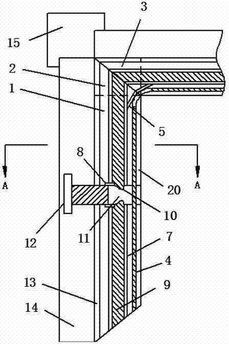
本实用新型公开了一种用于水族箱的PVC型材底柜结构,包括由型材主体、插接公头和插接母头,型材主体的内侧设置有第一槽体,第一槽体内活动设置有第一弹簧片,在插接公头和插接母头内设置有限位片,第一弹簧片的两端设置有倒齿,在插接公头和插接母头插接配合后,相邻两个第一弹簧片上的倒齿相互啮合,在第一槽体的外侧设置有第一空腔,第一空腔的中部对称设置有两个半封闭式的隔板,两个隔板外侧分别设置有一个第二弹簧片,第二弹簧片位于隔板的一侧设置有弧形突头,型材主体的中部设置有贯穿型材主体的螺纹孔,螺纹孔位于两个隔板之间,螺纹孔内螺纹连接有螺栓。本实用新型能够改进现有技术的不足,提高PVC型材底柜的抗压性,延长使用寿命。


