授权公布号:CN204232111U
一种改进的画框式鱼缸屏风
有效
申请
2014-10-30
申请公布
1970-01-01
授权
2015-04-01
预估到期
2024-10-30
| 申请号 | CN201420633915.1 |
| 申请日 | 2014-10-30 |
| 授权公布号 | CN204232111U |
| 授权公告日 | 2015-04-01 |
| 分类号 | A01K63/00;A01K63/04;A47G5/00 |
| 分类 | 农业;林业;畜牧业;狩猎;诱捕;捕鱼; |
| 申请人名称 | 河北亮点水族科技有限公司 |
| 申请人地址 | 河北省保定市徐水县大王店工业园 |
专利法律状态
2015-04-01
授权
状态信息
授权
摘要
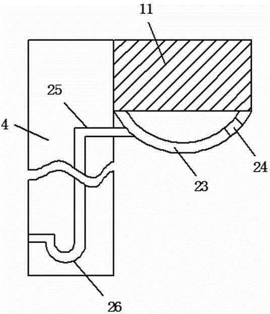
本实用新型公开了一种改进的画框式鱼缸屏风,包括底座,底座上设置有鱼缸,所述鱼缸包括缸体和顶盖,缸体顶部内侧设置有弧形滑轨,顶盖底面设置有滑轮,顶盖底面设置有第一底面橡胶层,缸体顶部设置有第一顶面橡胶层,顶盖上设置有喂食口,喂食口内连接有盖板,喂食口下方设置有挂杆,盖板中间设置有通孔,通孔内设置有两个挂钩,喂食口的底面设置有第二底面橡胶层,盖板的顶面设置有第二顶面橡胶层;在第一顶面橡胶层的下方设置有弧形遮风板,弧形遮风板的底面设置有排风口,缸体的侧壁内设置有与排风口相连通的排风管,排风管上设置有U形部。本实用新型能够改进现有技术的不足,在提高鱼缸的密封性的同时保持了操作的便利性。


